EasyManua.ls Logo

Shini SHD-50 - Page 61

Shini SHD-50
111 pages
Print Icon
To Next Page IconTo Next Page
To Next Page IconTo Next Page
To Previous Page IconTo Previous Page
To Previous Page IconTo Previous Page
Loading...
61(111)
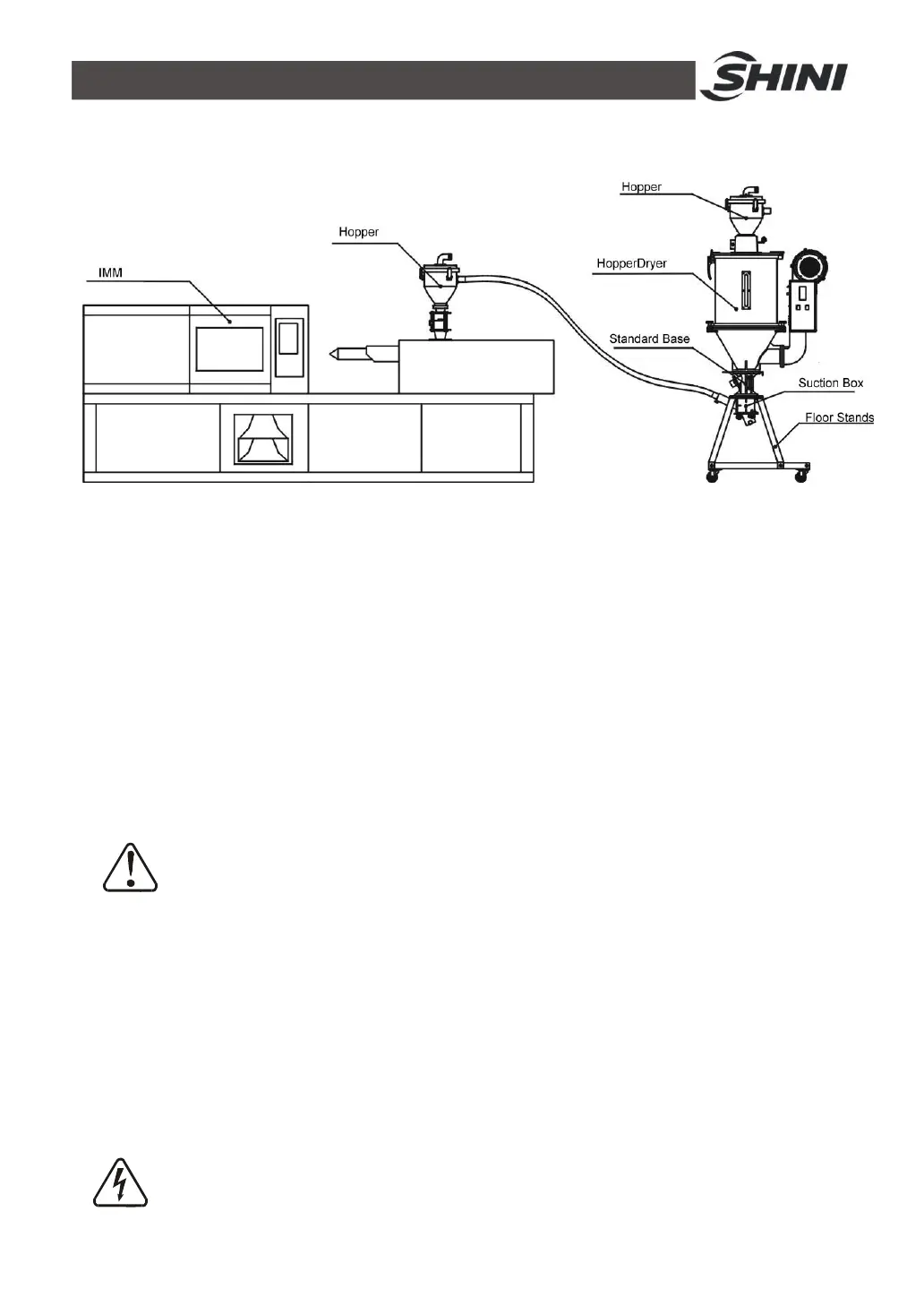
13.2 Floor Stand Installation
Pic. 13-2 Floor stand installation
Floor stand installation type is to mount dryer on a floor stand, then via a
photo-sensor hopper receiver to convey the material to the feed port of a molding
machine. SHD-400 and above models should adopt floor stand installation type.
Machine should be placed on water-level floor to keep balance. If it is to be
mounted on a high surface(e.g. on a scaffold or a interlayer), should ensure its
structure and sizes can bear the weight and size of the machine.
14. Safety Regulations
Note!
Electrical installation should be done by qualified electrician only.
Before connecting to AC Power Source, turn power switch to OFF
position. While AC power source is connected, make sure specifications
and overload protection rating of the power switch are suitable and
reliable. When the machine is under care or maintenance, turn off both
power switch and automatic operation switch.
14.1 Safety Signs and Labels
Danger!