EasyManua.ls Logo

Siemens RDG110 - Page 18

Siemens RDG110
23 pages
Print Icon
To Next Page IconTo Next Page
To Next Page IconTo Next Page
To Previous Page IconTo Previous Page
To Previous Page IconTo Previous Page
Loading...
18/23
Siemens RDG1... Wall-mounted room thermostats with LCD CE1N3181en
Building Technologies 2017-11-20
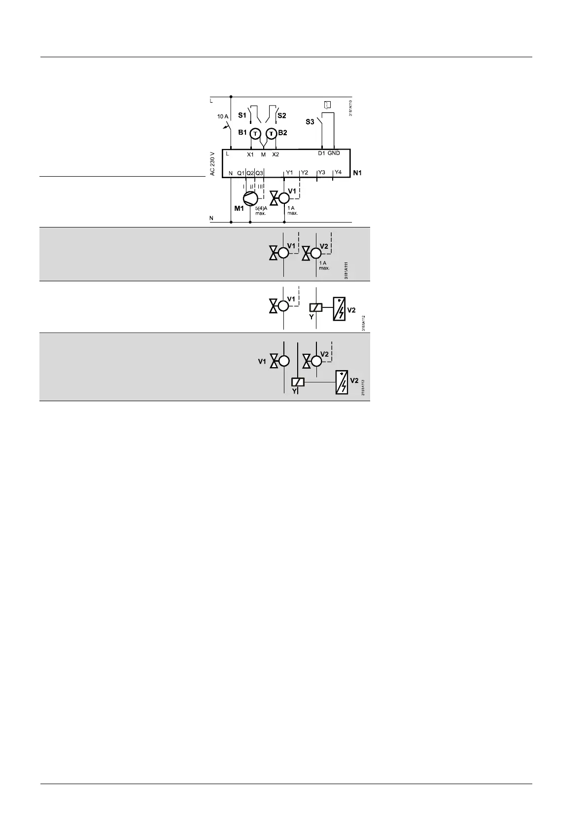
Connection diagrams
RDG100..
N1 Room thermostat RDG100..
M1 1-speed or 3-speed fan
V Valve actuators:
On/Off, heating, cooling, radiator,
heating/cooling, 1
st
or 2
nd
stage
S1, S2 Switch (keycard, window contact,
etc.)
S3 Switch at SELV input (keycard,
window contact)
B1, B2 Temperature sensor (return air
temperature, external room
temperature, changeover sensor,
floor temperature limit, etc.)
Q Relay outputs
Y1...Y4 Triac outputs
YH Heating valve actuator
YC Cooling valve actuator
YHC Heating/cooling valve actuator
YR Radiator valve actuator
YE Electric heater with relay/contactor
Y
YHC1/YHC2 1
st
/2
nd
stage
1-speed or 3-speed fan
Application
V1
V2
2-pipe
YHC
2-pipe & radiator
4-pipe
2-stage
YHC
YH
YHC1
YR
YC
YHC2
2-pipe & el. heater
YHC YE
4-pipe & el. heater
YH
YE
YC