EasyManua.ls Logo

Sigma CHEF 10 - Spare Parts List

Sigma CHEF 10
19 pages
Print Icon
To Next Page IconTo Next Page
To Next Page IconTo Next Page
To Previous Page IconTo Previous Page
To Previous Page IconTo Previous Page
Loading...
Instructions manual CHEF 10 VVE
15 of 19
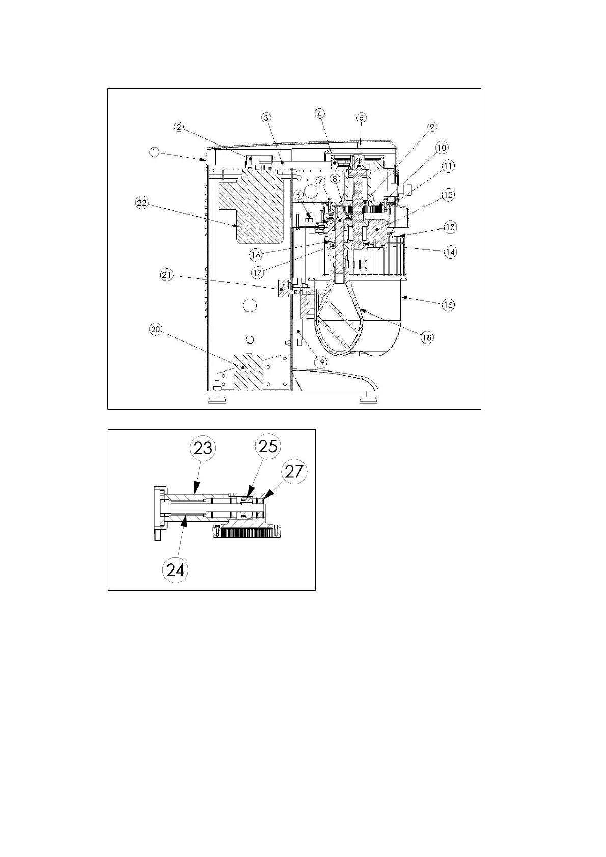
SPARE PARTS LIST
\