EasyManua.ls Logo

Silvercrest SR-1400 - Übersicht

Silvercrest SR-1400
56 pages
Go to English
To Next Page IconTo Next Page
To Next Page IconTo Next Page
To Previous Page IconTo Previous Page
To Previous Page IconTo Previous Page
Loading...
Scanradio SR-1400
Deutsch - 37
Übersicht
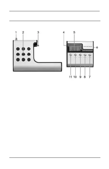
Vorderseite
1 Teleskopantenne
2 Lautsprecher
3 Anschlussstecker
4 Kopfhörerbuchse
5 Display
6 Ein-/Ausschalter und Lautstärkeregler
7 SCAN (Sender suchen)
8 RESET (Rücksetzen)
9 MINUTE (Minuten einstellen)
10 HOUR (Stunden einstellen)
11 SET (Uhrzeit einstellen)