EasyManua.ls Logo

Silvercrest SR-1400 - Descripción General

Silvercrest SR-1400
56 pages
Go to English
To Next Page IconTo Next Page
To Next Page IconTo Next Page
To Previous Page IconTo Previous Page
To Previous Page IconTo Previous Page
Loading...
Receptor de radio SR-1400
Español - 3
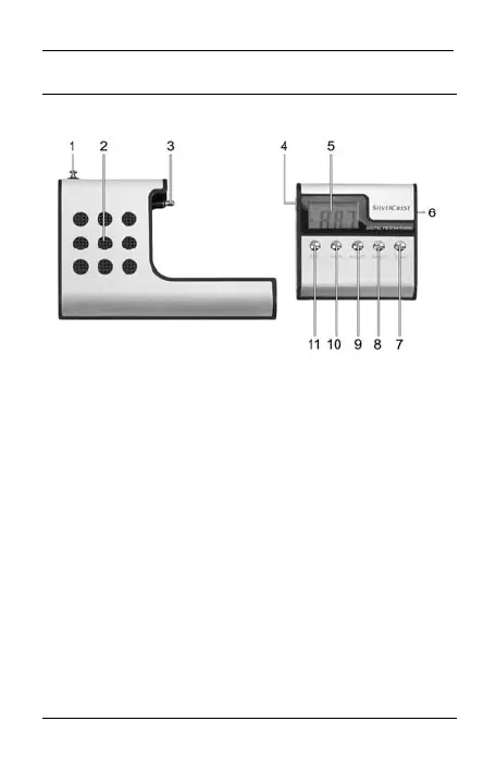
Descripción general
Panel frontal
1 Antena telescópica
2 Altavoz
3 Conector
4 Toma para auriculares
5 Pantalla
6 Botón de encendido/apagado y de ajuste del
volumen
7 SCAN (para buscar una emisora de radio)
8 RESET (para resetear el dispositivo)
9 MINUTE (para ajustar los minutos)
10 HOUR (para ajustar las horas)
11 SET (para ajustar la hora)