EasyManua.ls Logo

Sime Format.zip 25 BF - Page 63

Sime Format.zip 25 BF
Print Icon
To Next Page IconTo Next Page
To Next Page IconTo Next Page
To Previous Page IconTo Previous Page
To Previous Page IconTo Previous Page
Loading...
61
L
N
TA
TA
1
VZ
R
VZ1
R1
NOTA: I revengono impiegati solo nel caso
le valvole di zona siano prive di micro.
CR1
CR
Connettore "TA"
L
N
TA
TA1
P
R
P1
R1
CIRCUITO CON VALVOLE DI ZONA
CIRCUITO CON POMPE DI ZONA
LEYENDA
TA-TA1 Termóstato ambiente de zona
VZ-VZ1 Válvula de zona
R-R1 Relé de zona
CR-CR1 Contacto relé o micro válvula de zona
P-P1 Bomba de zona
Conector “TA
CIRCUITO CON VALVULAS DE ZONA CIRCUITO CON BOMBAS DE ZONA
NOTA: Os relés só são utilizados no caso em que as
válvulas de zona não tenham micro-interruptores.
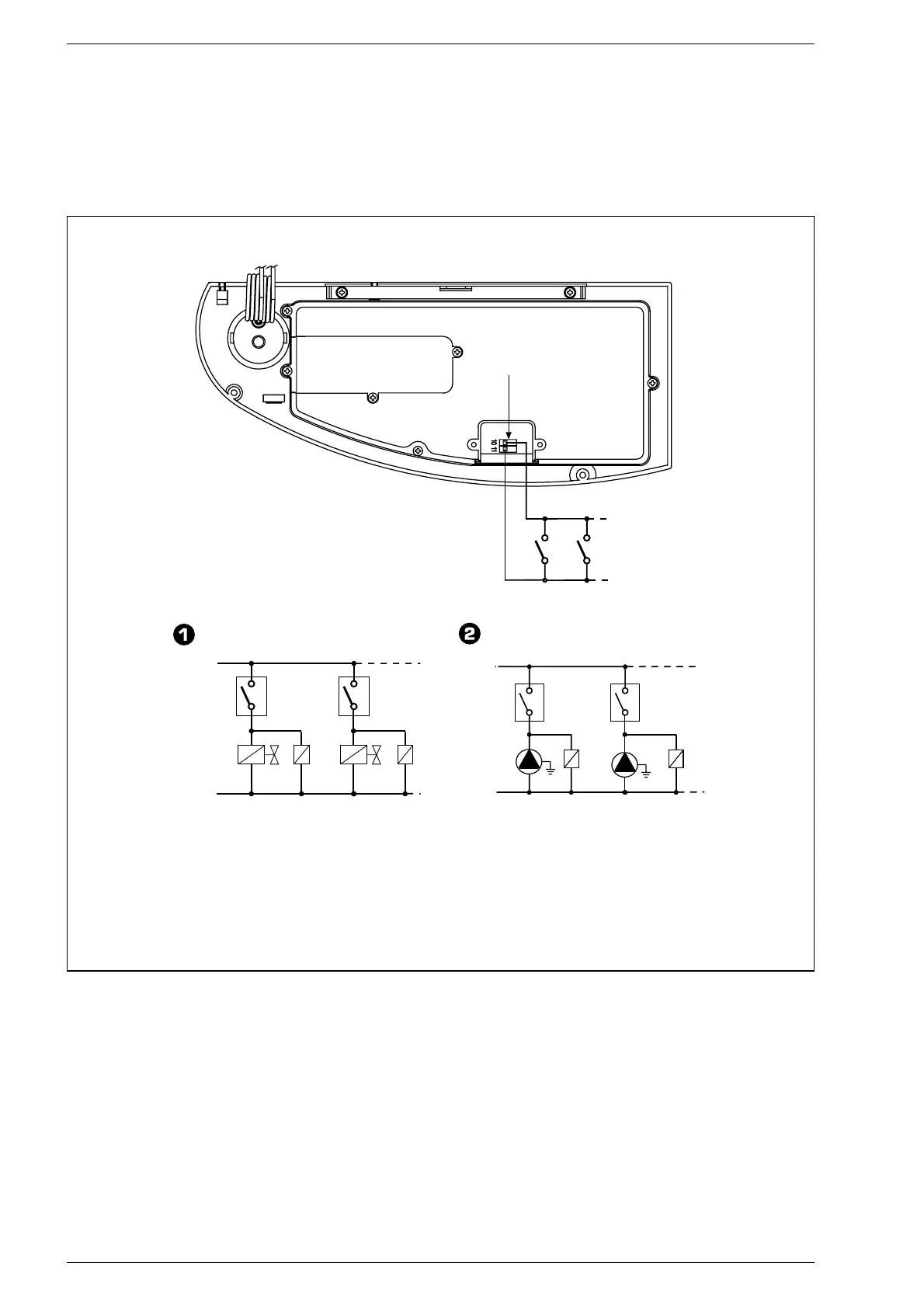
Fig. 18
3.3.9 LIGAÇÃO ELÉCTRICA
EQUIPAMENTOS POR ZONAS
Para a realização deste tipo de equipamen-
to, utilizar uma linha eléctrica à parte na
qual se deverão ligar os termóstatos de
ambiente com as respectivas válvulas ou
bombas de zona.
A ligação dos micro ou dos contactos relé
deve ser efectuada nos bornes 10-11 do
conector “TAda placa electrónica depois
de se ter tirado a ponte existente (fig. 18).

Related product manuals