EasyManua.ls Logo

SIMPLIHOME Harper - Page 13

SIMPLIHOME Harper
23 pages
Print Icon
To Next Page IconTo Next Page
To Next Page IconTo Next Page
To Previous Page IconTo Previous Page
To Previous Page IconTo Previous Page
Loading...
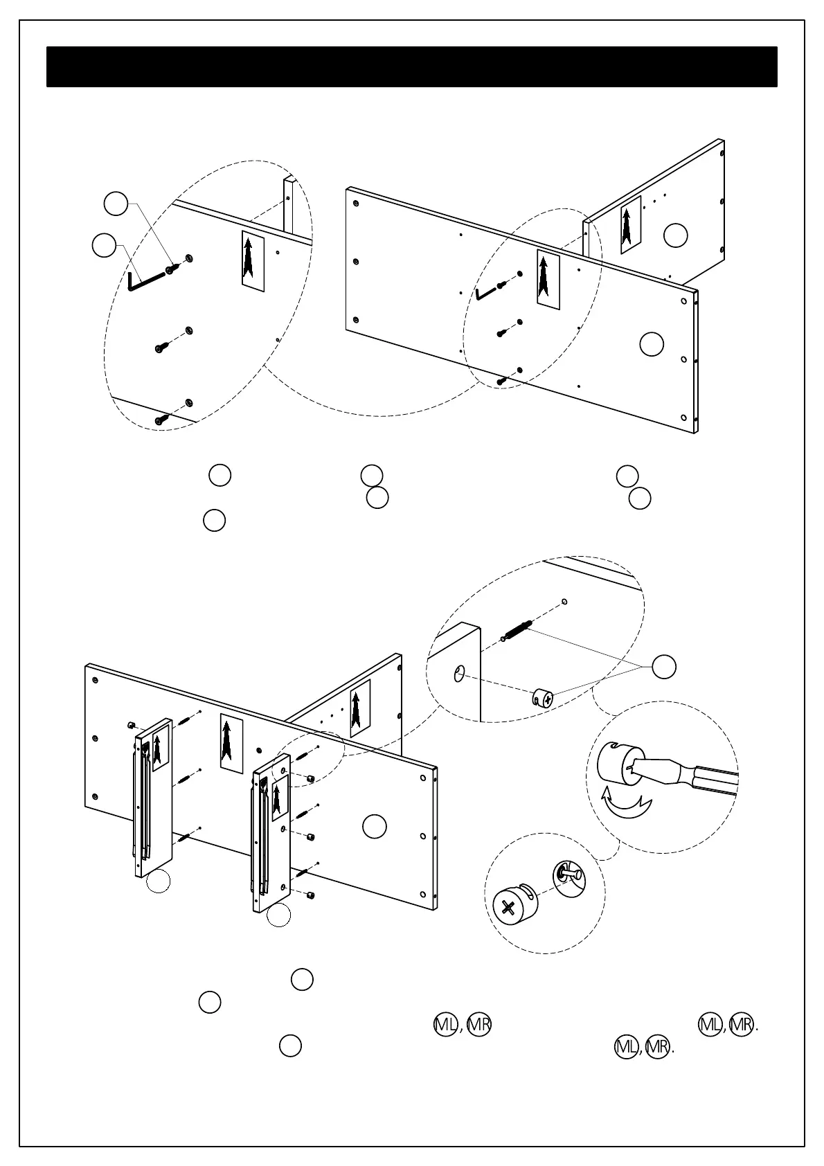
Step 4
Step 5
1. Attach Divider D to Middle Shelf N using three Allen Key Screws 1 through
guide holes from the Middle Shelf N to pre-drilled holes of Divider D .
2. Use Allen Key 3 to tighten screws. Do not over-tighten.
1. Attach six Cam Lock Pins 5 into pre-drilled holes at the underneath of
Middle Shelf N .
2. Align Cam Lock Pins with guide holes from
ML , MR
and attach Small Dividers
ML , MR .
3. Insert three Cam Locks 5 into guide holes on each Small Divider
ML , MR .
4. Use flathead screwdriver to secure Cam Locks. Do not over-tighten.
1
3
D
N
5
N
M
L
M
R
Front / Avant
Front /
Avant
Front /
Avant
Front / Avant
Front /
Avant
Front / Avant
Front / Avant
13
Model # AXCHRP-06-TKAssembly

Related product manuals