EasyManua.ls Logo

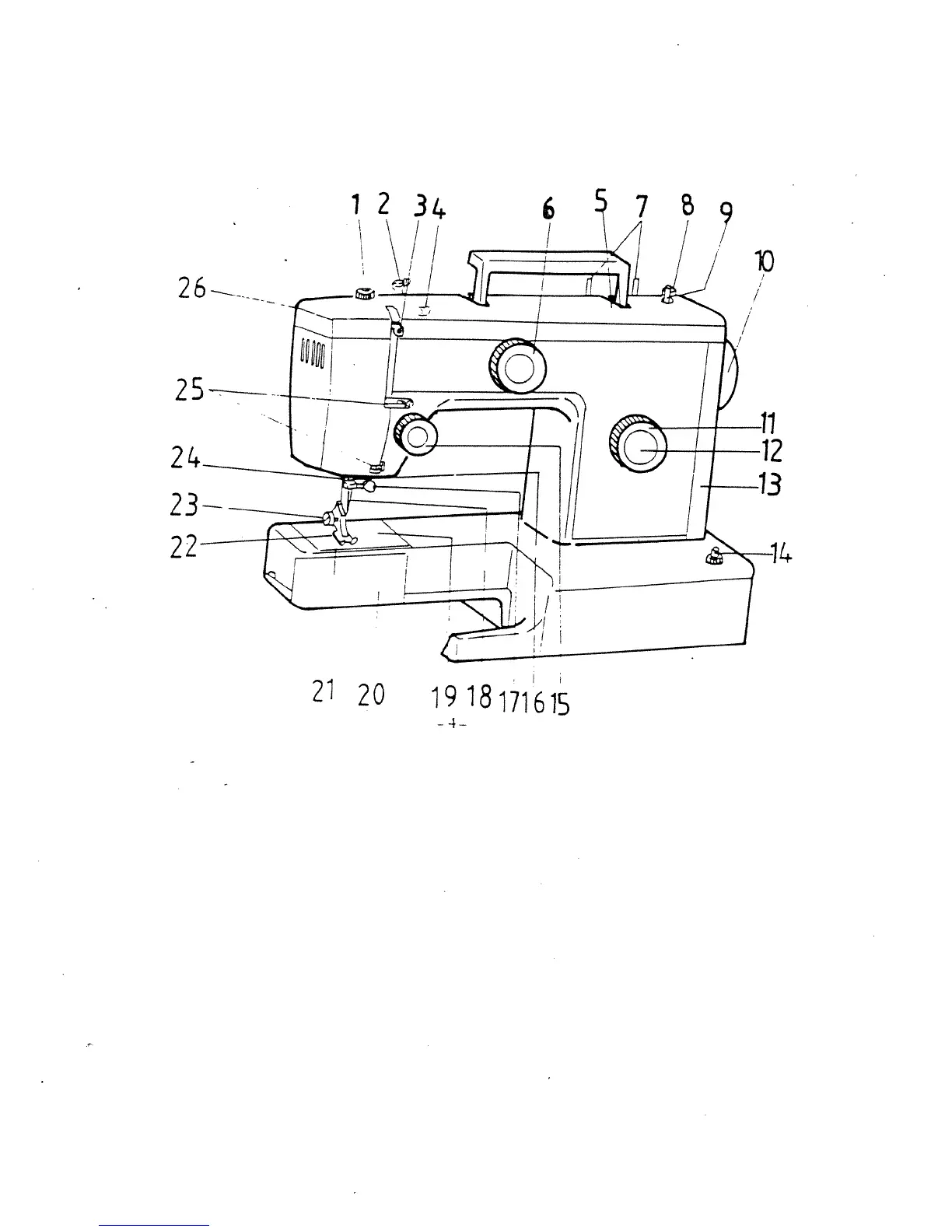
Singer 1410 - Machine Parts Identification

Singer 1410
38 pages
Print Icon
To Next Page IconTo Next Page
To Next Page IconTo Next Page
To Previous Page IconTo Previous Page
To Previous Page IconTo Previous Page
Loading...
oz
L
9LL
L

Related product manuals