EasyManua.ls Logo

Singer 20U31 - Page 11

Singer 20U31
24 pages
Print Icon
To Next Page IconTo Next Page
To Next Page IconTo Next Page
To Previous Page IconTo Previous Page
To Previous Page IconTo Previous Page
Loading...
From the library of Superior Sewing Machine & Supply LLC - www.supsew.com
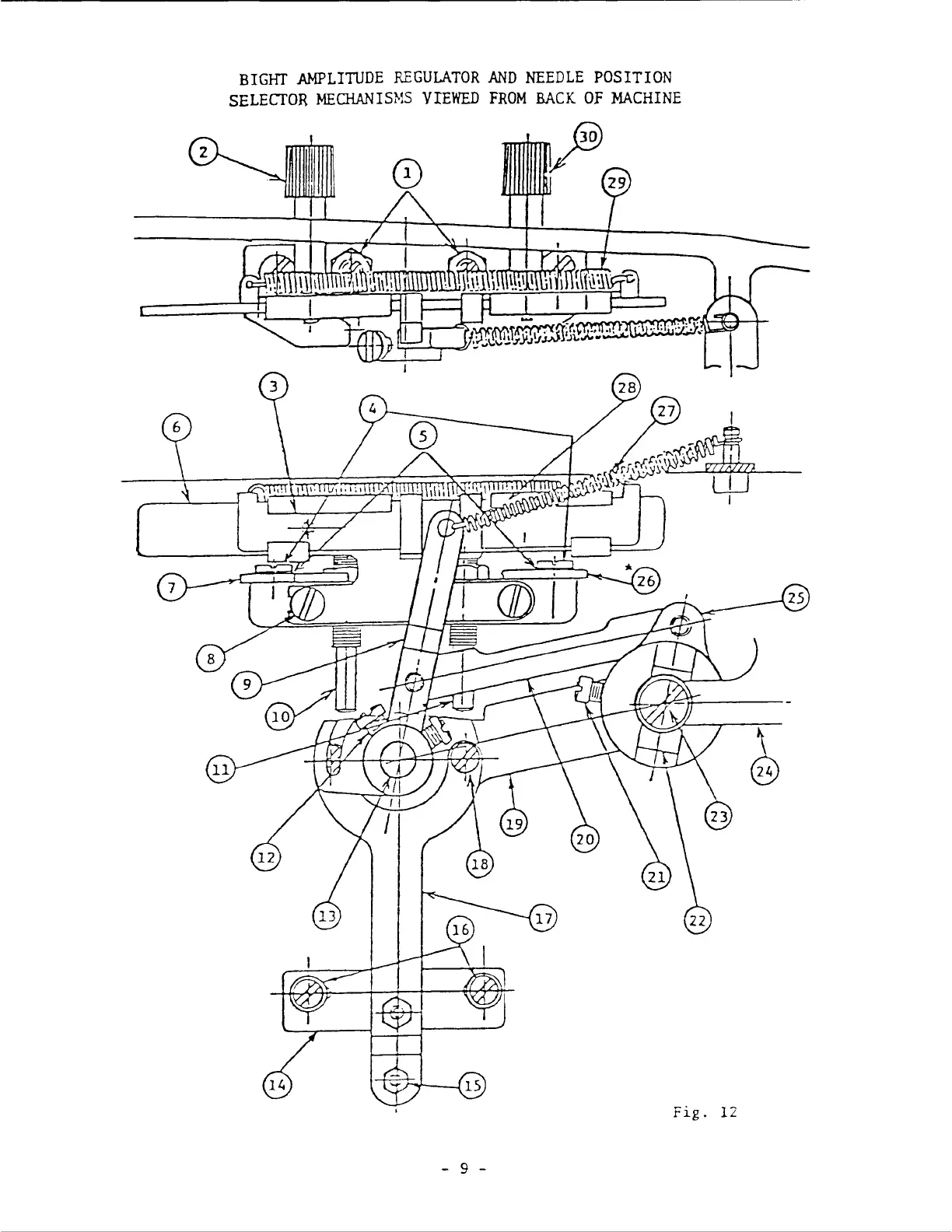
BIGHT
AMPLITUDE
REGULATOR
AND
NEEDLE
POSITION
SELECTOR
MEQiANISHS
VIEWED
FROM
BACK
OF
MACHINE
Fig.
12
- 9 -

Related product manuals