EasyManua.ls Logo

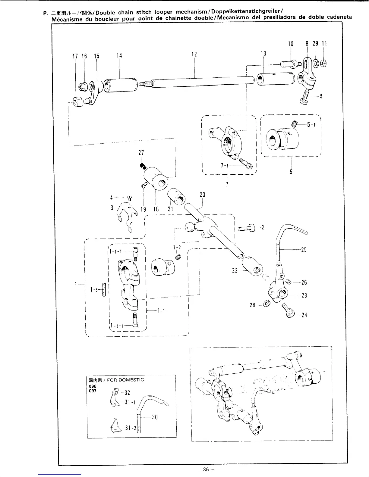
Singer 842U - P. Double Chain Stitch Looper Mechanism

Singer 842U
75 pages
Print Icon
To Next Page IconTo Next Page
To Next Page IconTo Next Page
To Previous Page IconTo Previous Page
To Previous Page IconTo Previous Page
Loading...

Other manuals for Singer 842U

Related product manuals