EasyManua.ls Logo

Singer Class 269w - Page 23

Singer Class 269w
83 pages
Print Icon
To Next Page IconTo Next Page
To Next Page IconTo Next Page
To Previous Page IconTo Previous Page
To Previous Page IconTo Previous Page
Loading...
\
24
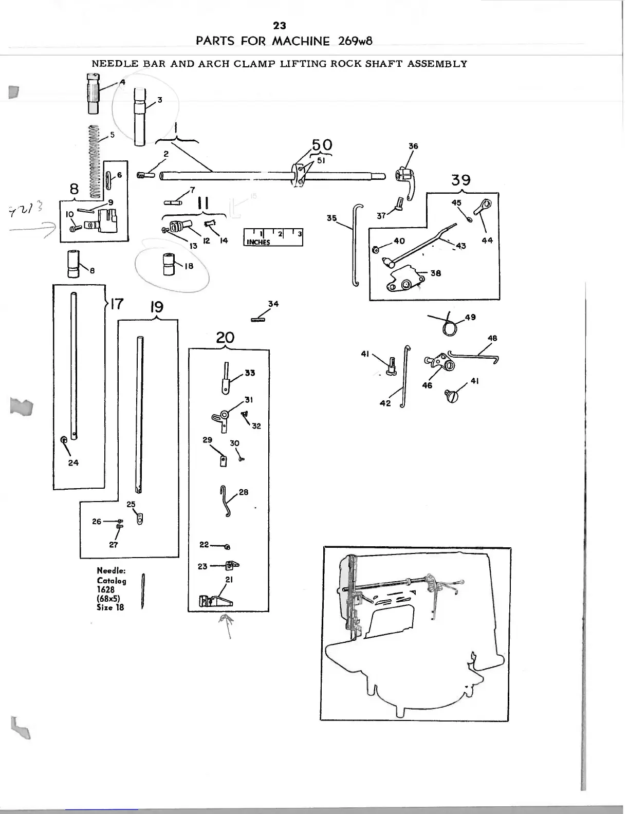
23
PARTS
FOR
MACHIN!: 269w8
NEEDLE
BAR
AND
ARCH
CLAMP
LIFTING
ROCK
SHAFT
ASSEMBLY
17
.------'
25
26-
'19
'
27
Needle:
Catalog
1628
(68x5)
Size
18
I
19
A
20
22~
23~
50
4-1-51
--.----.
I
I
11
I
21
I
31
_INCHES
_
34
~
35
41~~
42~
From the library of: Superior Sewing Machine & Supply LLC

Related product manuals