EasyManua.ls Logo

Singer HD 6800C - Needle Threader Operation; Needle Selection and Information

Singer HD 6800C
44 pages
Print Icon
To Next Page IconTo Next Page
To Next Page IconTo Next Page
To Previous Page IconTo Previous Page
To Previous Page IconTo Previous Page
Loading...
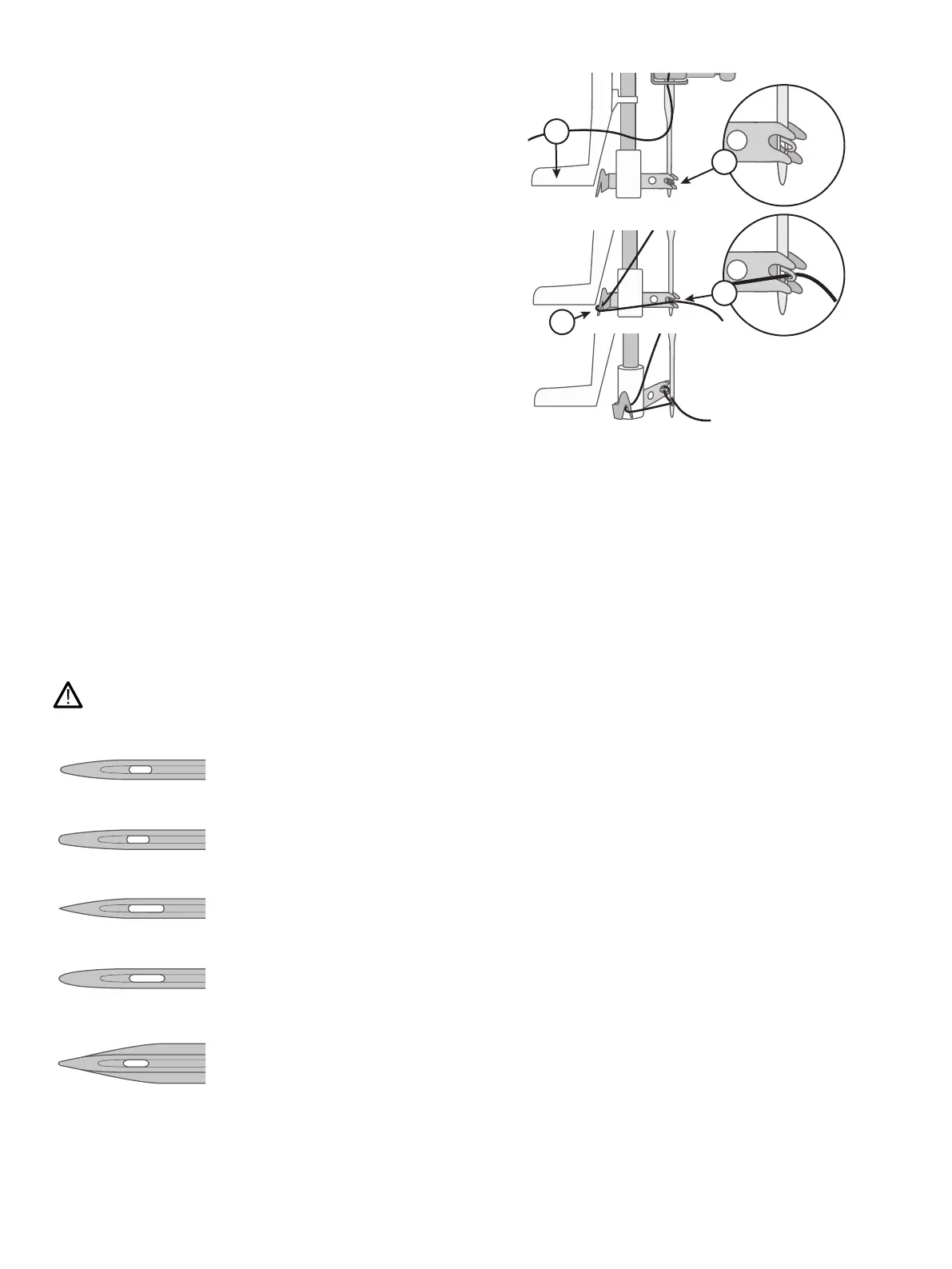
Needle Threader
C
A
B
D
The built-in needle threader allows you to thread the needle
quickly and easily.
The needle must be in its highest position to use the built-in
needle threader. Turn the hand wheel towards you until the
needle is in its highest position, or press the needle up/down
button. It is also recommended that you lower the presser foot.
Use the handle (A) to pull the needle threader all the way
down. The metal flanges cover the needle. A small hook
will pass through the needle eye (B).
Place the thread from the back over the thread guide (C)
and under the small hook (D).
Let the needle threader gently swing back. The hook pulls
the thread through the needle eye and forms a loop behind
the needle. Pull the thread loop out behind the needle.
Raise the presser foot and place the thread under it.
Pull out about 6–8” (15–20cm) of thread beyond the needle
eye. This will prevent the machine from coming unthreaded
when you start to sew.
Note: The needle threader is designed to be used for size 70-
110 needles. You cannot use the needle threader for size 60
needles or smaller, wing needles or twin needles. There are
also some optional accessories that require manual threading
of the needle. When threading the needle manually, make sure
that the needle is threaded from front to back.
Needles
The sewing machine needle plays an important role in successful sewing. Use only quality needles. We recommend needles of
system 130/705H. The needle package included with your machine contains needles of the most frequently used sizes.
Be sure to match the needle to the thread you are using. Heavier threads require a needle with a larger needle eye. If the
needle eye is too small for the thread the needle threader may not work properly.
Universal Needle
Universal needles have a slightly rounded point and come in a variety of sizes. For general sewing in a
variety of fabric types and weights.
Stretch Needle
Stretch needles have a ball point and a special scarf to eliminate skipped stitches when there is a flex
in the fabric. For knits, swimwear, fleece, synthetic suedes and leathers.
Denim Needle
Denim needles have a sharp point to penetrate tightly woven fabrics without deflecting the needle. For
canvas, denim, microfibers.
Embroidery Needle
Embroidery needles have a special scarf, a slightly rounded point and a slightly larger eye to avoid
damage to thread and materials. Use with metallic and other specialty threads for embroidery and
decorative sewing.
Wing Needle
Wing needles have wide extensions on each side of the needle to poke holes in the fabric when sewing
entredeux and other hemstitches on natural fiber fabrics.
14 Preparations
English

Table of Contents

Related product manuals