EasyManua.ls Logo

Singer S14-88 - Sewing: Flatlock Techniques; Standard Flatlock, Wide; Decorative Flatlock, Wide; Ladder Stitch Creation

Singer S14-88
96 pages
Print Icon
To Next Page IconTo Next Page
To Next Page IconTo Next Page
To Previous Page IconTo Previous Page
To Previous Page IconTo Previous Page
Loading...
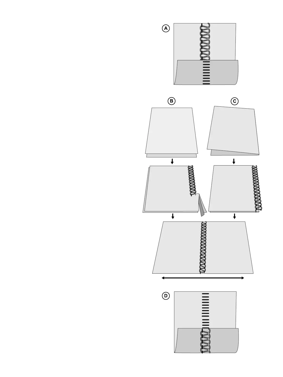
Flatlock Sewing
A Flatlock (A) is made by adjusting the tension of the 3-thread
overlock stitch, sewing the seam and pulling the fabrics apart to
flatten the seam. The tensions must be adjusted correctly for the
fabric to pull flat properly.
A Flatlock can be used both as a decorative construction stitch,
sewing two pieces together (Standard Flatlock), or for decoration
only on one piece of fabric (Decorative Flatlock).
There are two ways to sew a Flatlock. Either with the wrong sides
of the fabric together to create a decorative look, or with the right
sides together, to create a Ladder Stitch.
Standard Flatlock, Wide (B)
1. Use the left needle.
2. Thread the lower and upper looper and the left needle.
3. Set the thread tension according to “3–Thread Flatlock, Wide
(and Narrow)” on page 16.
4. Place the wrong sides of the two pieces of fabric together to
sew a decorative stitch on the right side of the project.
5. Sew the seam, trimming the excess fabric. The needle thread
will form a V on the underside of the fabric. The lower looper
thread will pull into a straight line at the fabric edge.
6. Unfold the fabric and pull on opposite sides of the seam to
pull the stitches flat.
Decorative Flatlock, Wide (C)
1. Place the upper cutter in the nonworking position (page 6).
The fabric should not be trimmed on this stitch.
2. Follow steps 1-3 above.
3. Fold the fabric piece, wrong sides together, to sew a
decorative stitch on the right side of the project.
4. Position the fabric so the seam is sewn with part of the stitch
extending off the fabric.
5. Unfold the fabric and pull on opposite sides of the stitch to
flatten.
Tip: The upper looper thread is the prominent thread in the flatlock
stitch. Place a decorative thread in the upper looper and regular
threads in the lower looper and needle.
Ladder Stitch (D)
A ladder stitch is a flatlock stitch but sewn with the right sides of
the fabric together. The needle thread will be the prominent
thread that creates the ladder.
22 Sewing
English

Table of Contents

Related product manuals