EasyManua.ls Logo

Singer S14-88 - Coser Overlock Triple; Puntada de Cierre Recto (D); Puntada Overlock Triple Decorativa, Ancha (C); Puntada Overlock Triple Estándar, Ancha (B)

Singer S14-88
96 pages
Print Icon
To Next Page IconTo Next Page
To Next Page IconTo Next Page
To Previous Page IconTo Previous Page
To Previous Page IconTo Previous Page
Loading...
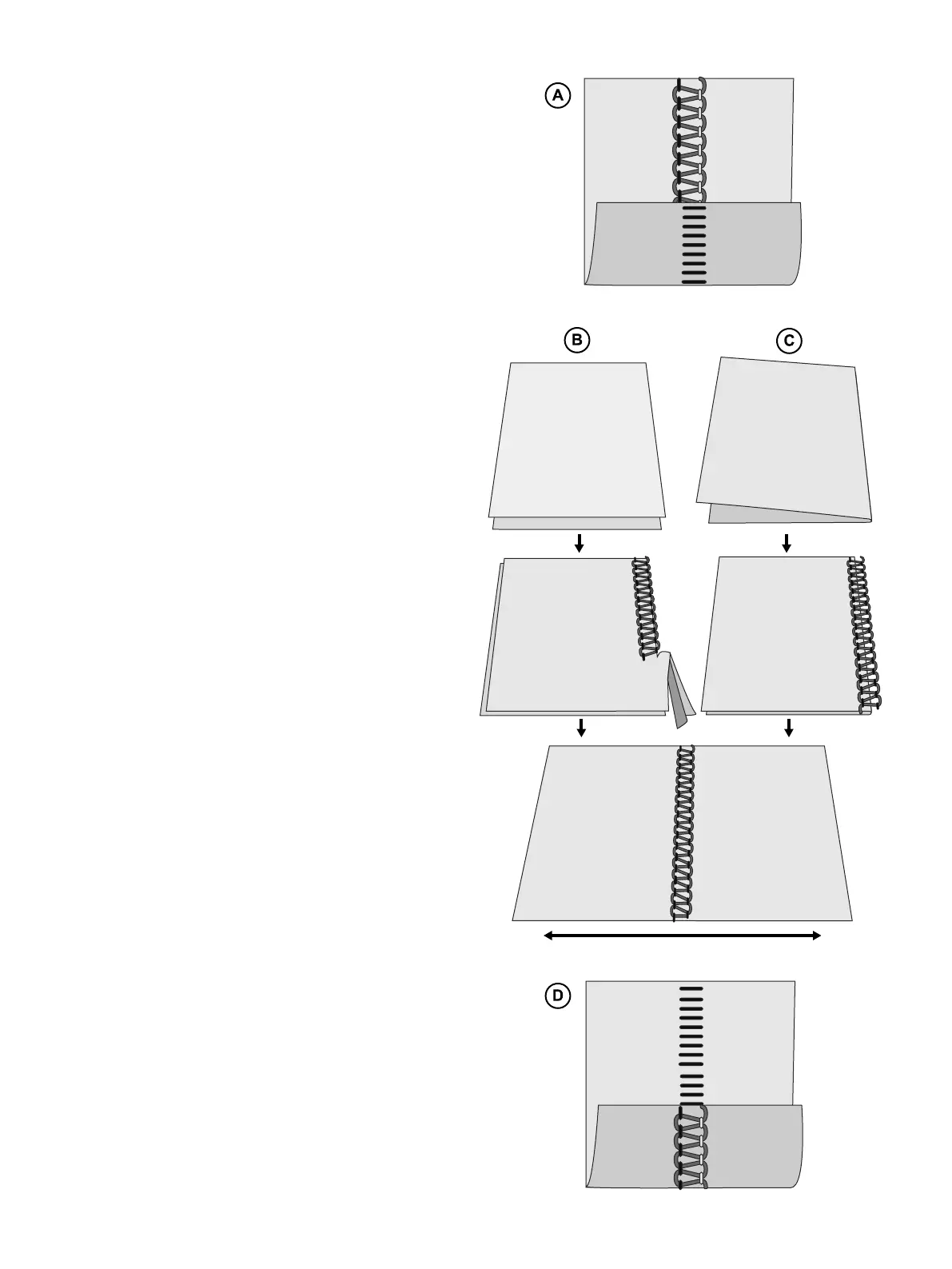
Coser Overlock triple
Una puntada de Overlock triple (A) se logra al ajustar la tensión
de la puntada Overlock de 3 hilos, coser y apartar la tela para
allanar la puntada. Las tensiones se deben ajustar correctamente
para que el tejido quede liso de forma adecuada.
La puntada Overlock triple se puede utilizar tanto como elemento
decorativo, al coser dos piezas juntas (puntada Overlock triple
estándar), o como decoración sobre una sola pieza de tela
(puntada Overlock triple decorativa).
Existen dos modos de coser una puntada Overlock triple. Puede
juntar el revés de ambos tejidos para darles un aspecto
decorativo, o puede juntar el lado derecho para crear un cierre
recto.
Puntada Overlock triple estándar, ancha (B)
1. Utilice la aguja izquierda.
2. Enhebre las devanadoras inferior y superior y la aguja
izquierda.
3. Ajuste la tensión del hilo según "Puntada de remallado de 3
hilos, ancha (y estrecha)" de página 16.
4. Coloque los dos lados del revés de las dos piezas de tela
juntas para coser una puntada decorativa en el lado derecho
del proyecto.
5. Cósalas, recortando el exceso de tela. El hilo de la aguja
formará una V en el lado inferior de la tela. El hilo de la
devanadora inferior formará una línea recta en el borde de
la tela.
6. Desdoble la tela y tire de los lados opuestos de la costura
para allanar las puntadas.
Puntada Overlock triple decorativa, ancha
(C)
1. Coloque la cuchilla superior en la posición de reposo
(página 6). Con esta puntada no es necesario recortar la tela.
2. Siga los pasos anteriores 1-3.
3. Doble la pieza de tela, juntándola por el revés, para coser
una puntada decorativa en el derecho del proyecto.
4. Coloque la tela de modo que la costura se cosa con parte de
la puntada saliendo de la tela.
5. Desdoble la tela y tire de los lados opuestos de la costura
para allanar las puntadas.
Sugerencia: El hilo de la devanadora superior es el hilo que
sobresale en la puntada Overlock triple. Coloque un hilo
decorativo en la devanadora superior e hilos normales en la
devanadora inferior y en la aguja.
Puntada de cierre recto (D)
Una puntada de cierre recto es una puntada Overlock triple pero
se cose al juntar el derecho de la tela. El hilo de la aguja será el
hilo que sobresale para crear el cierre.
22 Costura
Espanõl

Table of Contents

Related product manuals