EasyManua.ls Logo

SINO SDS2-3E - Sds2-2 M; Sds2-2 Ms

Default Icon
130 pages
Print Icon
To Next Page IconTo Next Page
To Next Page IconTo Next Page
To Previous Page IconTo Previous Page
To Previous Page IconTo Previous Page
Loading...
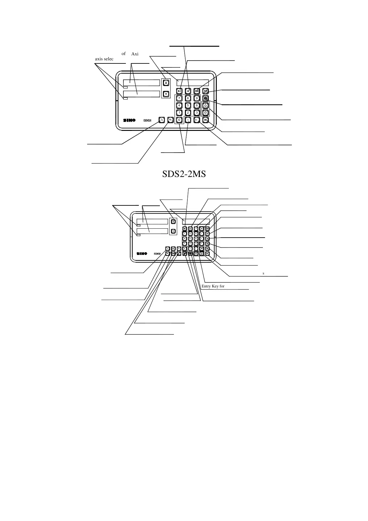
SEL
SEL
Key for the conversion of
relative/absolute display
Function Key for drilling
holes along an oblique line
Input (calctlation result)
Canceling Key
Square Root Calculating Key
Operation Key
Calculation function Key
Key for "Inverting"
Trigonometric Functions
Angular Surface Processing
Function Key
Progressive Inner chamber
Processing Function Key
Tool Compensation
Function Key
SDS2-2MS
Entry Key for Decimal Point
Function Key for circle equally
dividing(PRC Function Key)
Function Key for
getting one half
Key for the coneversion of
The Meter System/British
System Display
Function Key for 200 point
zero position
Key for Entering Data
Key for the selection of upper/lower
term or plane processing
Axis
displayed
Message
windows
Keys for Axis
Selection
Key for Cleaning the
Displayed Value to Zero
Entry Keys for Digits
Indicate light of
axis selection
Function Key for absolute
zero position data setting
R Augular Arc
Function Key(ARC
Function Key)
Entry Key Plus or Minus Symbol
Axis
displayed
Keys for Axis
Selection
Message
windows
Key for Cleaning the
Displayed Value to Zero
Function Key for absolute
zero position data setting
Function Key for 200 point
zero position
R Augular Arc Function
Key(ARC Function Key)
Function Key for circle equally
dividing(PRC Function Key)
Key for the selection of upper/lower
term or plane processing
Key for Entering Data
Entry Key Plus or Minus Symbol
Entry Key for
Decimal Point
Entry Keys
for Digits
Key for the conversion of
The Meter System/British
System Display
Function Key for
getting one half
!"
# $
SDS2-2M
Indicate light of
axis selection
SEL
SEL

Table of Contents

Related product manuals