EasyManua.ls Logo

SINO SDS2-3E - Sds2-2 G; Sds2-2 L

Default Icon
130 pages
Print Icon
To Next Page IconTo Next Page
To Next Page IconTo Next Page
To Previous Page IconTo Previous Page
To Previous Page IconTo Previous Page
Loading...
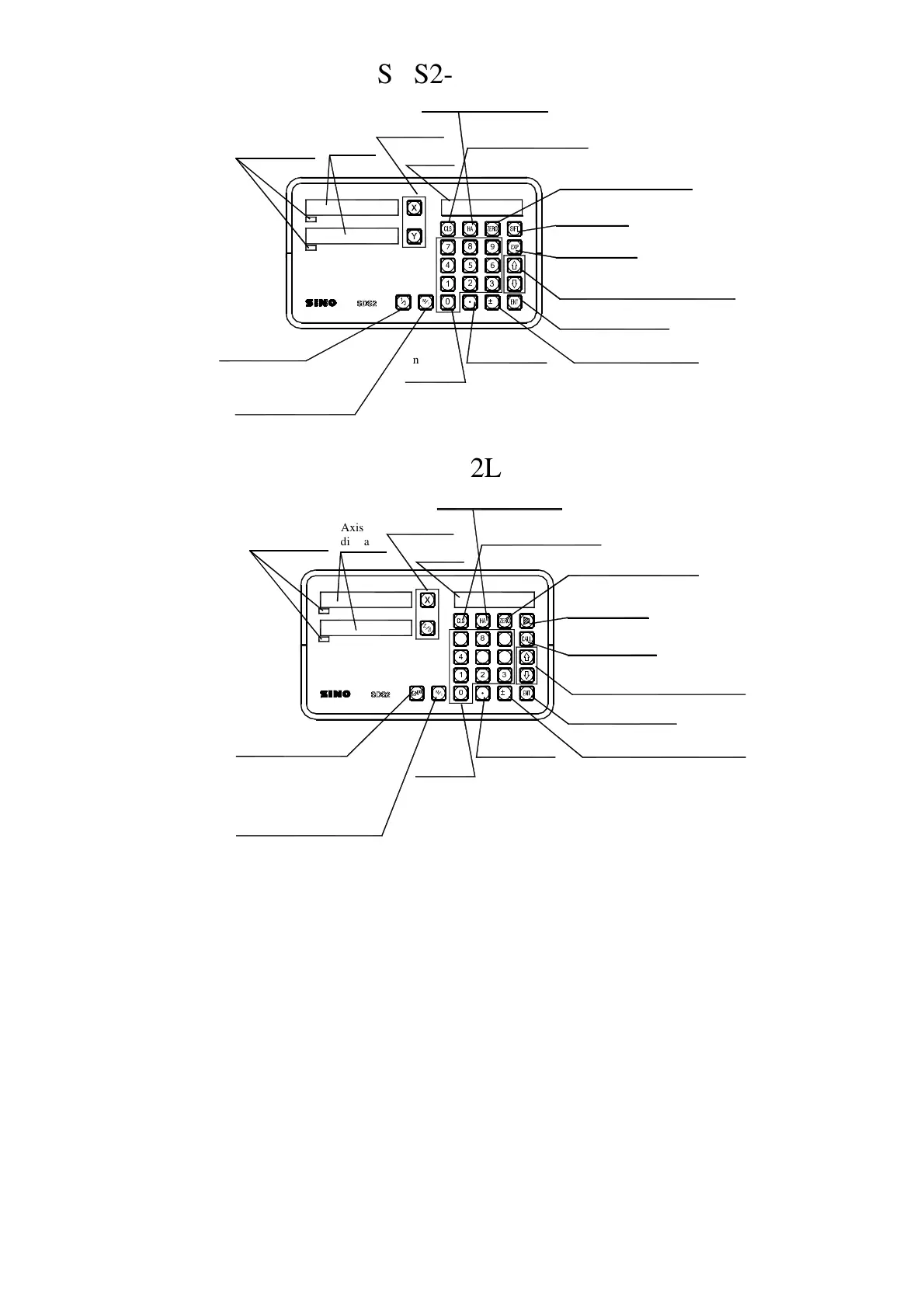
SEL
SEL
Indicate light of
axis selection
Key for digital
filter function
Key for backup
%
&
'(
)
9
* +
,
7
65
-
SDS2-2G
Entry Keys
for Digits
Key for the coneversion of
The Meter System/British
System Display
Function Key for
getting one half
Entry Key for
Decimal Point
Entry Key Plus or Minus
Symbol
Key for Entering Data
Key for the selection of upper/lower
term or plane processing
Function Key for 200 point
zero position
Key for Cleaning the
Displayed Value to Zero
Function Key for absolute
zero position data setting
Keys for Axis
Selection
Message
windows
Axis
displayed
Key for taper
measure function
Key for calling
200tool storeroom
Key for input 200 tool
storeroom
Key for radius/diameter
switch
.
.
/
0 1
234
5
5 6
9
6
7
SDS2-2L
Axis
displayed
Message
windows
Function Key for absolute
zero position data setting
Keys for Axis
Selection
Key for Cleaning the
Displayed Value to Zero
Function Key for 200 point
zero position
Entry Key Plus or Minus Symbol
Key for Entering Data
Entry Keys
for Digits
Key for the coneversion of
The Meter System/British
System Display
Entry Key for
Decimal Point
Key for the selection of upper/lower
term or plane processing
Indicate light of
axis selection
SEL
SEL

Table of Contents

Related product manuals