EasyManua.ls Logo

Skil 9350 - Montaje del Cargador

Skil 9350
48 pages
Print Icon
To Next Page IconTo Next Page
To Next Page IconTo Next Page
To Previous Page IconTo Previous Page
To Previous Page IconTo Previous Page
Loading...
Montaje del cargador
SUPERFICIE
VERTICAL
CLIP DE
MONTAJE
TORNILLOS DE
CABEZA REDONDA NO.
8 PARA MADERA
CARGADOR
PARA
BLOQUEAR
CLIP DE
MONTAJE
PARA
DESBLOQUEAR
PAQUETE DE
BATERÍA
CARGADOR
COMPARTIMIENTO DE
ALMACENAMIENTO DE BROCAS
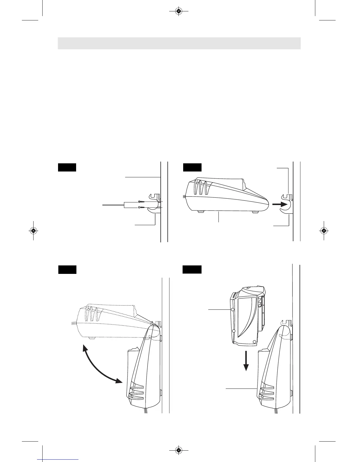
FIG. 9 FIG. 10
FIG. 11
FIG. 12
MONTAJE DEL CARGADOR EN UNA
SUPERFICIE VERTICAL
Para brindar conveniencia, el cargador fue
diseñado para que se pueda utilizar en una
superficie horizontal plana o se pueda montar en una
superficie vertical. El clip de montaje también tiene un
área de almacenamiento de brocas en su parte superior.
1. Seleccione la ubicación de montaje cerca de un
tomacorriente eléctrico para que el enchufe llegue al
tomacorriente. Compruebe si hay postes de pared u
otro soporte.
2. Utilizando un lápiz, marque dos lugares en la
superficie en una línea vertical, separados
aproximadamente 3/4".
3. Sujete firmemente el clip de montaje a la superficie
vertical utilizando dos tornillos de cabeza redonda No. 8
(Fig. 9).
4. Saque el paquete de batería del cargador antes de
realizar el montaje.
5. Introduzca el mango del cargador en el clip de
montaje en posicn horizontal (Fig. 10).
6. Baje suavemente el cargador hasta la posicn
vertical, hasta que es plano contra la superficie
vertical y se bloquee en el clip de montaje (Fig. 11).
7. Para quitar el cargador cuando se desee, súbalo de
vuelta a la posición horizontal para desbloquearlo y
luego saque el cargador del clip de montaje (Fig. 11).
8. Para cargar el paquete de batería, simplemente
deslice dicho paquete al interior del cargador (Fig. 12).
-44-
SM 1619X03849 11-08:SM 1619X03849 11-08 11/21/08 10:22 AM Page 44