EasyManua.ls Logo

Skyjack SJ 46A - Page 28

Skyjack SJ 46A
85 pages
Print Icon
To Next Page IconTo Next Page
To Next Page IconTo Next Page
To Previous Page IconTo Previous Page
To Previous Page IconTo Previous Page
Loading...
SJ 46A & SJ 46AJ
December 2007 Page 29
TM
Section 2 - Operation Visual and Daily Maintenance Inspections
Fuel Leaks•
Ensure that there no fuel leaks. -
DANGER
Engine fuels are combustible. Inspect
the aerial platform in an open, well-
ventilated area away from heaters,
sparks and flames. Always have an
approved fire extinguisher within easy
reach.
Ensure fuel tank, shutoff valve, hoses and -
fittings show no visible damage and no
evidence of fuel leakage.
2.8-7 Base
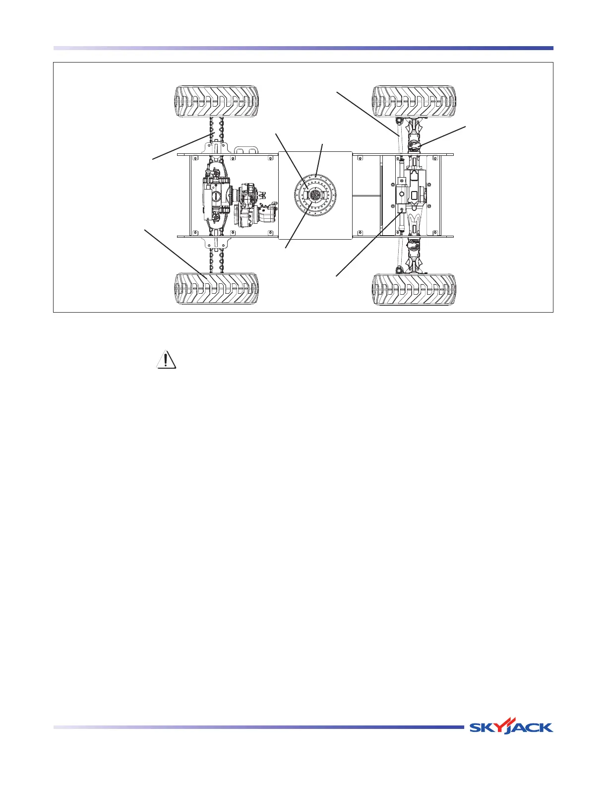
Turret Transportation Lock•
Ensure turret transportation lock is -
unlocked, there are no loose or missing
parts and there is no visible damage.
Drive Axle •
Ensure drive axle is properly secured, -
there are no loose or missing parts, all
fittings and hoses are properly tightened
and there is no evidence of hydraulic
leakage.
Oscillating Cylinder Assembly•
Ensure oscillating cylinder assembly is -
properly secured, there are no loose
or missing parts, all fittings and hoses
are properly tightened and there is no
evidence of hydraulic leakage.
NOTE
Oscillating axle is locked when aerial
platform is in work mode. Refer to
Diagram 2.3. Axle Oscillation Diagram.
Steer Cylinder Assembly•
Ensure steer cylinder assembly is properly -
secured, there are no loose or missing
parts, all fittings and hoses are properly
tightened and there is no evidence of
hydraulic leakage.
Tie Rod•
Ensure there are no loose or missing -
parts, tie rod end studs are locked and
there is no visible damage.
Wheel/Tire
Assembly
Tie Rod
Steer Cylinder
Assembly
Oscillating
Cylinder
Assembly
Turret Rotation
Gear
Rotary
Manifold
Limit Switch
Drive Axle
Overhead View

Table of Contents

Related product manuals