EasyManua.ls Logo

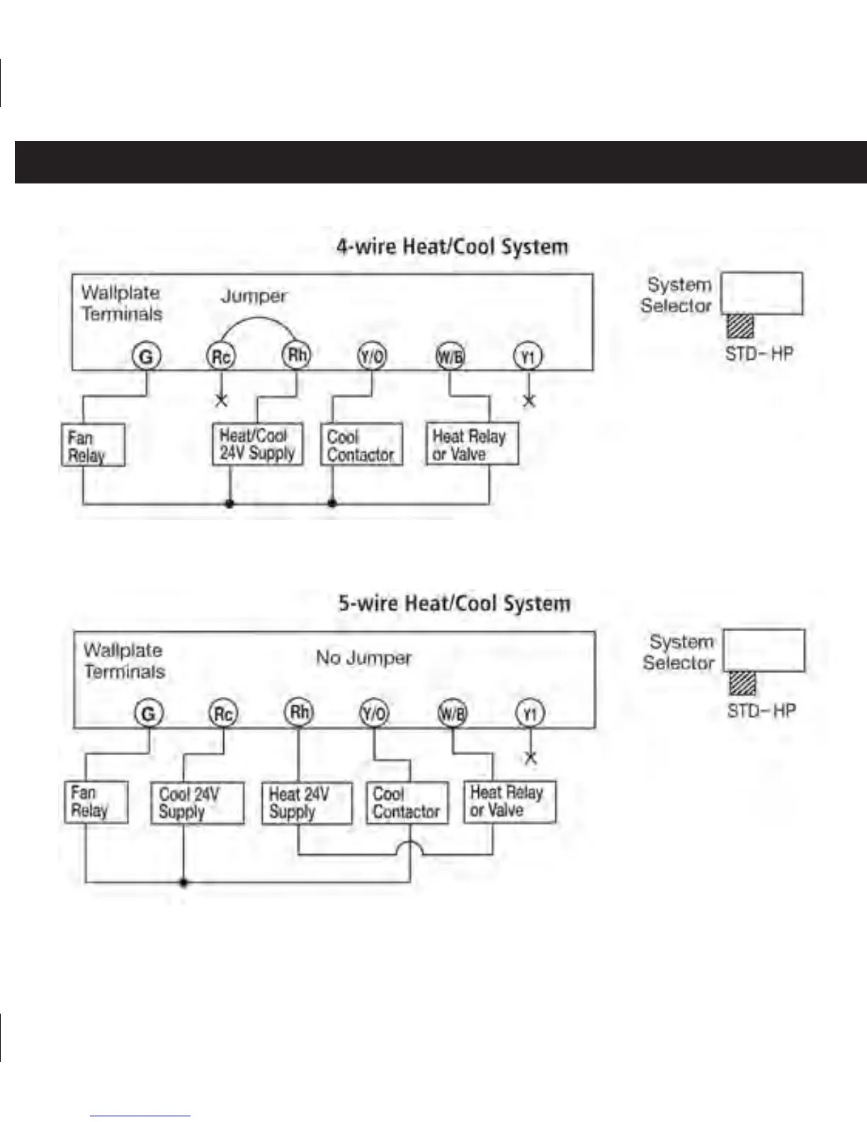
Smart temp 42158 - Wiring Diagrams; 4-Wire Heat;Cool System; 5-Wire Heat;Cool System

Default Icon
55 pages
Print Icon
To Next Page IconTo Next Page
To Next Page IconTo Next Page
To Previous Page IconTo Previous Page
To Previous Page IconTo Previous Page
Loading...
49
WIRING

Related product manuals