EasyManua.ls Logo

Smeg PV164B3 - Page 7

Smeg PV164B3
17 pages
Print Icon
To Next Page IconTo Next Page
To Next Page IconTo Next Page
To Previous Page IconTo Previous Page
To Previous Page IconTo Previous Page
Loading...
28 - DESCRIPTION 91477A886/B
saucepan leads to a waste of energy.
How to read the user manual
This user manual uses the following reading
conventions:
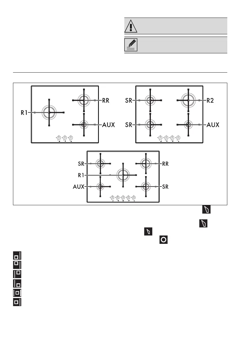
DESCRIPTION
General description
AUX: Auxiliary burner
SR: Semi-rapid burner
RR: Rapid burner reduced
R1: Rapid burner large
R2: Rapid burner medium
Cooking zones
Front left cooking zone
Rear left cooking zone
Rear right cooking zone
Front right cooking zone
Centre cooking zone
Left centre cooking zone
Burner knobs
For lighting and adjusting the hob burners. Press
and turn the knobs anti-clockwise to in
order to light the relative burners. Turn the knobs
to the zone between the maximum and
minimum setting to adjust the flame. Return
the knobs to the position to turn off the
burners.
Warning/Caution
Information/Advice

Related product manuals