EasyManua.ls Logo

Smeg SDP20 - Preparing the Home Garden; Electrical Connection

Smeg SDP20
22 pages
Print Icon
To Next Page IconTo Next Page
To Next Page IconTo Next Page
To Previous Page IconTo Previous Page
To Previous Page IconTo Previous Page
Loading...
Installation and connection
32
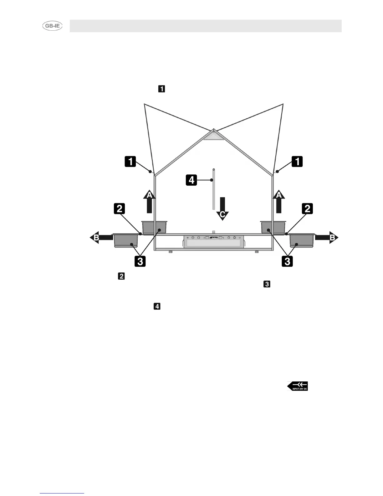
5.3 Preparing the Home Garden
After you have installed your Home Garden according to the instructions in Section "5.2 Positioning and
levelling the appliance", it has to be opened in order to position some parts inside.
Access to the inside of the Home Garden is possible from both side panels.
To open them, grasp the handles (shown in Figure 4) on the lower side glass panels and gently push
them upwards until you hear a click (movement A in Figure 5).
(Fig.5)
Two sliding trays ( ) on supports can be removed, as shown by movement “B” in Figure 5.
Included with the Home Garden, you will find a set of 4 special pots ( ) to grow your plants. For
information on placing the pots in their seats, see Section "10.1 Removing and placing the pots in the
Home Garden".
Insert the vapour delivery tube ( ) in its central seat, as shown by movement “C” in Figure 5.
5.4 Electrical connection
Connect the appliance's power supply lead to a mains socket, installed in accordance with electrical
safety regulations. The rated voltage and frequency are stated on the registration plate on the base of
the Home Garden. Always ensure that the indicated values correspond to the mains voltage.
The appliance must be connected to the electrical mains and earthed in compliance with the relevant
regulations and requirements. If the power supply lead has to be replaced, this operation must only be
carried out by an authorised Smeg technical service engineer.
The Home Garden is a low voltage device (24 V) and is supplied with a transformer which goes close
to the mains socket.
To connect the unit to the mains, plug the transformer jack into the socket marked on the base
of the Home Garden (Point 1 of figure 6); plug the power cord into the transformer (Point 2 of figure 6)
and plug its other end into the mains socket.

Related product manuals