EasyManua.ls Logo

Smeg TRA90BL - 2 Description; General Description; Cooking Hob

Smeg TRA90BL
32 pages
Print Icon
To Next Page IconTo Next Page
To Next Page IconTo Next Page
To Previous Page IconTo Previous Page
To Previous Page IconTo Previous Page
Loading...
Description
7
EN
2 Description
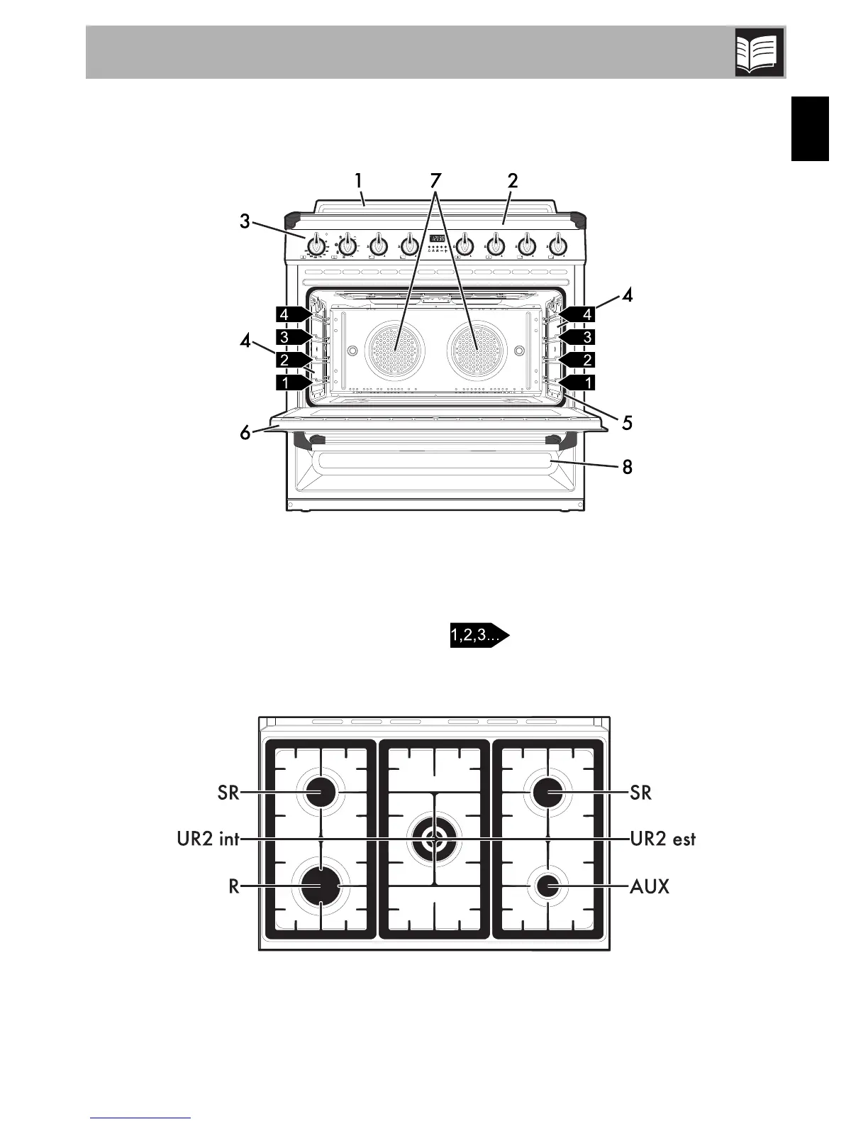
2.1 General description
1 Skirt
2 Cooking hob
3 Control panel
4 Oven light
5 Seal
6 Door
7 Fan
8 Storage compartment
Shelf for racks/trays support
frames
2.2 Cooking hob
AUX = Auxiliary
SR = Semi-rapid
R = Rapid
UR2 int = Ultra rapid internal crown
UR2 ext = Ultra rapid external crown

Related product manuals