EasyManua.ls Logo

Smith GC-160 - 3 Main Components

Smith GC-160
80 pages
Print Icon
To Next Page IconTo Next Page
To Next Page IconTo Next Page
To Previous Page IconTo Previous Page
To Previous Page IconTo Previous Page
Loading...
9
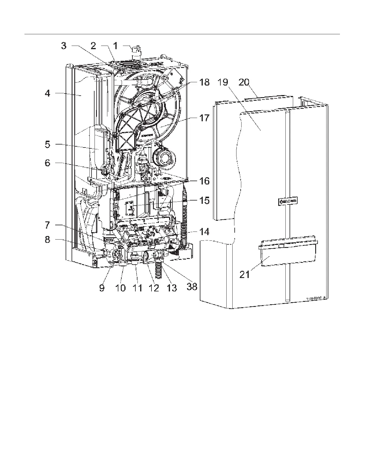
1 - Automatic air vent
2 - Air intake and flue gas discharge fitting (venting system)
3 - U7 flue gas temp. sensor and flue safety switch
4 - Expansion tank (not present on 45AN and 45AE models)
5 - Air drum
6 - Air/gas mixer device
7 - U2 d.h.w. temp. sensor (not present on 45AN and 45AE models)
8 - Heating pressure switch (low water cut-off)
9 - Heating supply connection
10 - DHW connection (not present on 45AN and 45AE models)
11 - Gas inlet connection
12 - DCW connection (not present on 45AN and 45AE models)
13 - Heating return connection
14 - Power Control Board
15 - Openterm interface board (optional)
16 - Connection board
17 - Primary heat exchanger
18 - Spark cable
19 - External jacket
20 - Sealing chamber door
21 - Instrument panel door
Figure 1 - Main components
3 - MAIN COMPONENTS

Table of Contents

Related product manuals