EasyManua.ls Logo

Snapper E281318BE, E331518KVE - Cutting Height Adjustment; Rear Engine Rider Drive Components; Wheel Brake Adjustment

Snapper E281318BE, E331518KVE
36 pages
Print Icon
To Next Page IconTo Next Page
To Next Page IconTo Next Page
To Previous Page IconTo Previous Page
To Previous Page IconTo Previous Page
Loading...
21
SECTION 4 - ADJUSTMENTS & REPAIR
FIGURE 4.4
WARNING
DO NOT attempt any adjustments, maintenance,
service or repairs with the engine running. STOP
engine. STOP blade. Engage parking brake. Remove
key. Remove spark plug wire from spark plug and
secure away from plug. Engine and components are
HOT. Avoid serious burns, allow all parts to cool
before working on machine. Fuel Filler Cap and vent
must be closed securely to prevent fuel spillage.
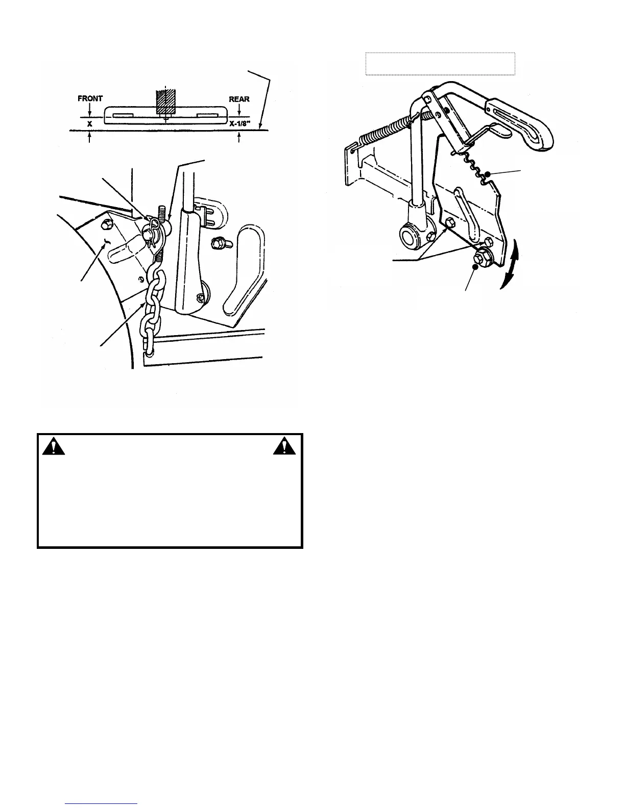
4.2.4. CUTTING HEIGHT ADJUSTMENT
The deck cutting height range may be adjusted.
1. Place the Rear Engine Rider on a smooth, level
surface.
2. Move deck lift lever to the lowest cutting position.
3. Loosen the two lift quadrant mounting bolts and
eccentric bolt. See Figure 4.5.
FIGURE 4.5
4. Rotate eccentric to raise or lower desired cutting
height range.
5. Tighten lift quadrant mounting bolts and
eccentric bolt.
NOTE: Lift quadrant in lowest position gives 1” to 3 1/2”
cutting height range. Lift quadrant in highest position
gives 1-1/2” to 4” cutting height range.
4.3 REAR ENGINE RIDER DRIVE COMPONENTS
Your Snapper rider is equipped with a patented smooth
start clutch. The clutch should operate smoothly and
provide ample traction. If problems are experienced,
contact your Snapper dealer for repair.
4.3.1. WHEEL BRAKE ADJUSTMENT
Test the wheel brake on a dry concrete surface. When
properly adjusted, the Rear Engine Rider will stop
within 5 feet from fastest speed. If stopping distance is
more than 5 feet, the wheel brake should be adjusted
as follows:
1. Follow WARNING statement found on this page.
2. Check fuel level in tank. If over 3/4 full, remove
tank. Refer to Section “REMOVING FUEL TANK”. If
3/4 or less, proceed to next step.
3. Carefully stand Rear Engine Rider on rear bumper.
(Continued on next page)
FLOOR
HAIR PIN
HANGER
CHAIN PIVOT
SUPPORT
BRACKET
HANGER
CHAIN
RAISE OR
LOWER LIFT
QUADRANT
AS DESIRED
SHOWN WITH COVER REMOVED
LOOSEN
MOUNTING
BOLTS
LOOSEN
ECCENTRIC
BOLT
ROTATE
ECCENTRIC

Table of Contents

Related product manuals