EasyManua.ls Logo

Snapper EM250819BE, EM281019BE - Check Blade Drive Belt; Check Blade Brake; Service Brake; Park Brake

Snapper EM250819BE, EM281019BE
36 pages
Print Icon
To Next Page IconTo Next Page
To Next Page IconTo Next Page
To Previous Page IconTo Previous Page
To Previous Page IconTo Previous Page
Loading...
15
Section 3 - MAINTENANCE
WARNING
DO NOT attempt any adjustments, maintenance,
service or repairs with the engine running. Stop
engine. Stop blade. Engage parking brake. Remove
key. Remove spark plug wire from spark plug and
secure away from plug. Engine and components are
HOT. Avoid serious burns, allow all parts to cool
before working on machine. Fuel Filler Cap and Vent
must be closed securely to prevent fuel spillage.
3.2 SERVICE - AFTER FIRST 5 HOURS
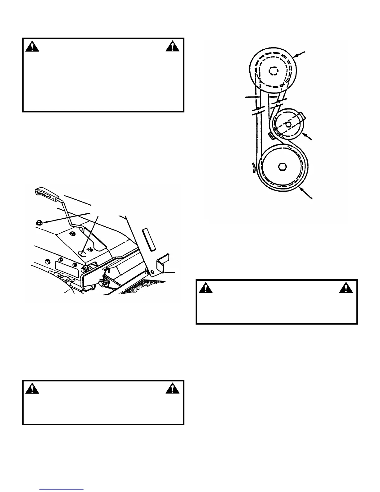
3.2.4. CHECK BLADE DRIVE BELT
The blade drive consists of a single belt from the
engine to the deck. Inspect for signs of deterioration
and proper tension.
1. Lower deck to lowest setting.
2. Remove four self-tapping screws, two on each
side of mower drive belt cover. See Figure 3.3.
3. Slide cover back and rotate out.
FIGURE 3.3
4. With engine “OFF” and deck in 3rd height of cut
position, move blade lever back to the “ON” position
and depress blade pedals.
5. Measure the belt spacing at idler pulley. See
Figure 3.4. The belt spacing should be 1 1/4” but
no less 1”. If the measurement is less than 1”, the belt
tension should be adjusted. Refer to Section “BLADE
DRIVE BELT ADJUSTMENT”.
WARNING
The following procedure requires the engine and
blades to be operated. Exercise extreme caution.
Clear area of loose parts & tools first. Only operate
blades when seated in the operator’s seat.
FIGURE 3.4
3.2.5. BLADE BRAKE
1. Check blade brake for proper function. Blade should
stop rotating in 3 seconds or less after moving the blade
control lever to the “OFF” position or after releasing the
blade pedals.
WARNING
Blades must stop rotating in 3 seconds or less after
the blade has been turned off. DO NOT operate
machine until blade brake has been adjusted and
functioning properly.
2. If the blade continues to rotate longer than 3
seconds do not operate machine. Refer to Section
“BLADE BRAKE ADJUSTMENT” or contact your
SNAPPER dealer for assistance.
3.2.6. SERVICE BRAKE / PARK BRAKE
1. Check machine brake for proper function. Engage
park brake. Push machine. Rear tires should skid. Drive
machine forward and apply brake. Machine should come
to a complete stop in less than 5 ft.
2. If brakes are not functioning properly brake
adjustment must be completed before operating
machine. Refer to Section “SERVICE BRAKE – PARK
BRAKE ADJUSTMENT”.
REMOVE FOUR
SCREWS TO REMOVE
COVER
BELT SPACING
SHOULD BE
1
-
1/4”
ENGINE
PULLEY
IDLER
PULLEY
MOWER
DECK
PULLEY

Table of Contents

Related product manuals