EasyManua.ls Logo

Snapper ESPV21S - Bagging Components

Snapper ESPV21S
24 pages
Print Icon
To Next Page IconTo Next Page
To Next Page IconTo Next Page
To Previous Page IconTo Previous Page
To Previous Page IconTo Previous Page
Loading...
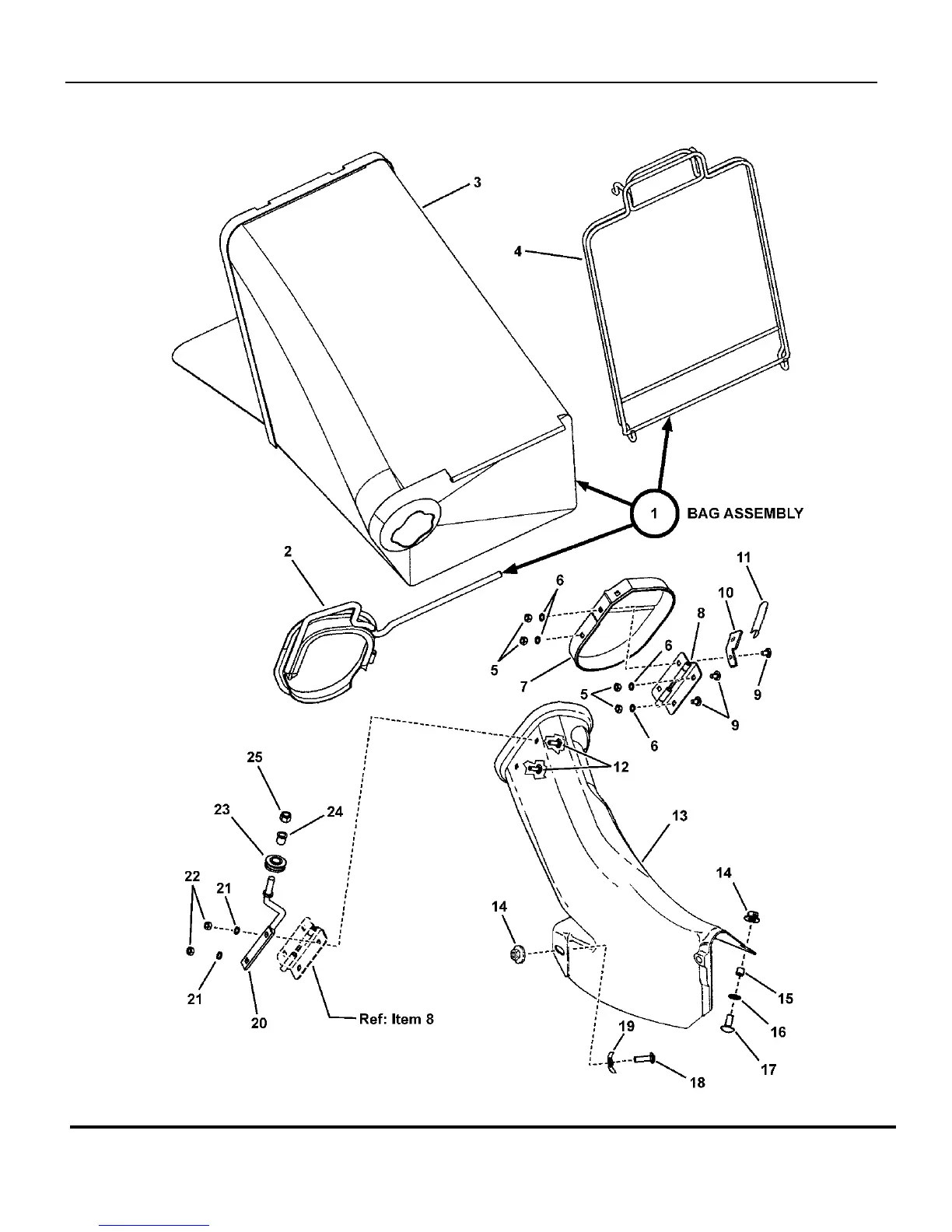
BAGGING COMPONENTS
TP 400-5150-1-WB-N
Manual No. 7006208 21" STEEL DECK EASY LINE EUROPEAN
18

Related product manuals