EasyManua.ls Logo

Snapper Zero Turning Z-Riding - Page 2

Snapper Zero Turning Z-Riding
6 pages
Print Icon
To Next Page IconTo Next Page
To Next Page IconTo Next Page
To Previous Page IconTo Previous Page
To Previous Page IconTo Previous Page
Loading...
B. Attach roll bar to side bars, securing with two 1/2-
13 x 3-3/4” hex bolts and lock nuts through the rear
hinge holes. See Figure 4. NOTE: Slip stop brackets
over hinges before installing hardware. See Figure 4.
C. Raise roll bar to fully upright position, aligning
locking holes in roll bar with corresponding holes in
side bars. Insert locking pin through each forward
hole, and secure with connected bridge pin. Install
plastic knobs into threaded holes in front of roll bar,
and tighten securely. See Figure 4.
D. Tighten hardware securing side bars to frame
brackets, torquing to 60-70 ft-lbs. Tighten roll bar
hardware as well; however, leave loose enough so
that roll bar folds and raises easily.
E. Install anti-vibration bolts into sides of frame
brackets, tightening securely. See Figure 3.
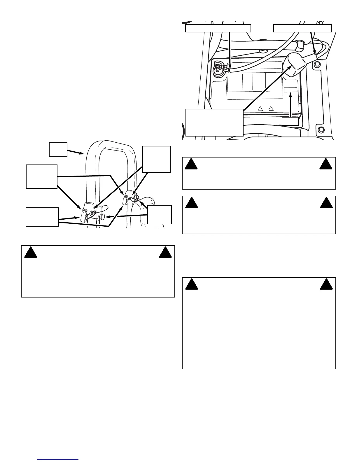
STEP 6: Check date on battery label. See Figure 5. If
battery is placed into service after date shown on label,
battery will have to be charged:
A. Remove battery from battery compartment before
charging.
B. Place battery in a well ventilated area on a level non-
concrete surface.
C. Charge battery at 6-10 amps for 1 hour to bring
battery to full charge.
STEP 7: Install battery into power unit. NOTE: In order to
raise operator seat to access battery compartment, seat
must be in rearmost position.
STEP 8: Both bolts are already installed on both terminals.
Connect positive (+) cable (red) first, from wiring harness to
positive terminal (+) on battery and secure with nut
provided in hardware bag. Connect negative (-) cable
(black) last, to negative terminal (-) on battery and secure
with nut also provided. See Figure 5. Apply a small amount
of grease over terminals to prevent corrosion.
STEP 9: Take the necessary precautions when handling
fuel. Fill the fuel tank with clean fuel. Check oil and add oil if
needed as stated in Engine Owners Manual. Move fuel tank
selector valve handle to the desired fuel tank.
2
FIGURE 5
WARNING
Handle fuel with care! Use an approved fuel container.
DO NOT smoke near open fuel container and keep fuel
container away from open flame. DO NOT fill fuel tank
indoors or when engine is running. Allow engine to
cool for at least ten minutes before refilling. Wipe off
any spilled fuel before starting engine. DO NOT run
engine indoors. Before attempting any adjustments,
maintenance, service, or repairs, stop engine and
blade, always remove key from ignition switch, remove
spark plug wire(s) and secure wire(s) away from spark
plug(s).
! !
BLACK (NEGATIVE) CABLE
DATE
TERMINAL COVER
MUST SHIELD POSITIVE
TERMINAL AFTER
INSTALLATION
RED (POSITIVE) CABLE
WARNING
Keep all sparks, flame and fire away from area when
charging battery.
! !
WARNING
Shield the positive terminal with terminal cover located
on battery harness. This prevents metal from touching
the positive terminal, which could cause sparks.
! !
WARNING
Roll bar protective structure must be installed and all
mounting hardware securely tightened before starting
or operating machine. Do Not modify the structure in
any way before, during or after installation. Modifying
the structure can result in serious injury or death.
! !
FIGURE 4
ROLL
BAR
INSTALL
PLASTIC
KNOBS
INSTALL
STOP
BRACKETS
INSTALL
HARDWARE
INTO REAR
HOLES
INSTALL
PINS INTO
FORWARD
HOLES

Related product manuals