EasyManua.ls Logo

Snow Switch GF PRO - Page 10

Default Icon
26 pages
Print Icon
To Next Page IconTo Next Page
To Next Page IconTo Next Page
To Previous Page IconTo Previous Page
To Previous Page IconTo Previous Page
Loading...
South Bend, Indiana USA | networketi.com
SNOW/ICE CONTROL INSTALLATION MANUAL | PART NO. 23918 REV B
10
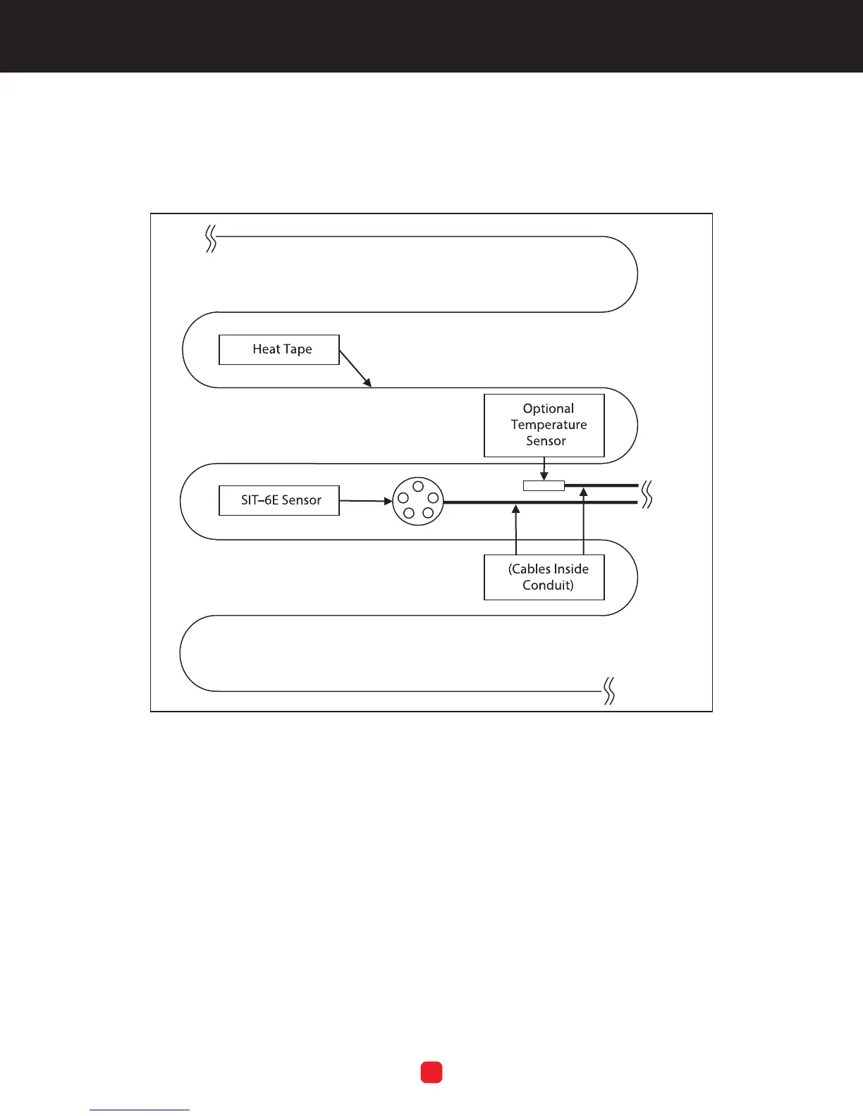
A representative schematic diagram of an SIT–6E pavement sensor installation is shown
below in Figure 3. Note how the heat tape and other components do not cross.
FIGURE 3. Representative SIT–6E Pavement Installation