EasyManua.ls Logo

SOLE F85 - Page 12

SOLE F85
36 pages
Print Icon
To Next Page IconTo Next Page
To Next Page IconTo Next Page
To Previous Page IconTo Previous Page
To Previous Page IconTo Previous Page
Loading...
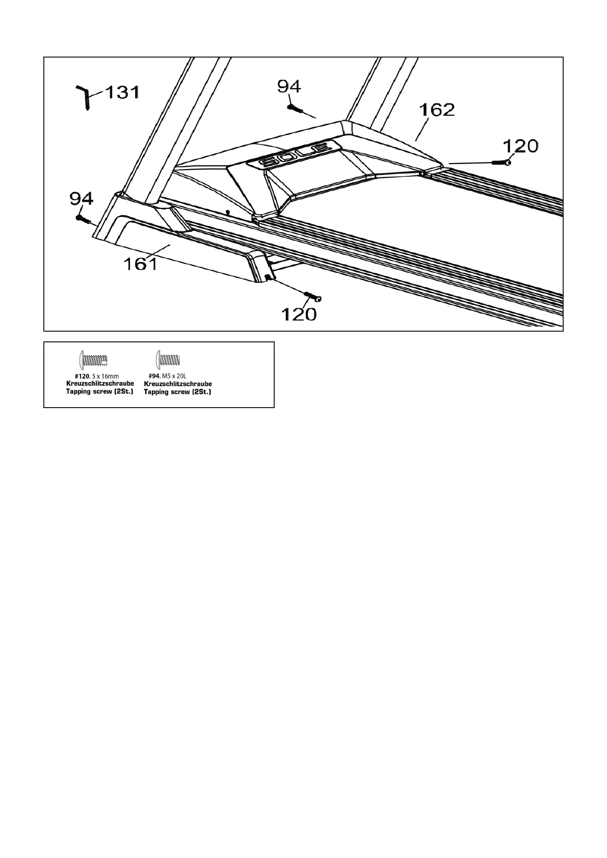
Schritt 8
Befestigen Sie die Hauptrahmenabdeckungen (161/162) mit
je einer Kreuzschlitzschraube (120) von der Rückseite und einer
Kreuzschlitzschraube (94) von der Vorderseite am Hauptrahmen.
11
1. Finish tightening the button head bolts (from Step 2 above)
that secure the console masts to the frame.
2. Attach the Console mast covers (161 & 162) to the Frame
Base (2) with two Tapping Screws (120) and two Phillips Head
Screws (94).

Other manuals for SOLE F85

Related product manuals