EasyManua.ls Logo

SOLIS Master Top - Brewing Methods; Coffee from Ground Beans; Dispensing Hot Water

SOLIS Master Top
38 pages
Print Icon
To Next Page IconTo Next Page
To Next Page IconTo Next Page
To Previous Page IconTo Previous Page
To Previous Page IconTo Previous Page
Loading...
M
Page 9 of 36
SOLIS Ltd
SOLIS-House
CH-8152 Glattbrugg
SOLIS MASTER TOP
2_drawing parts Master Top_M
29.08.2005/BB
30.08.05
Technik/Entwicklung
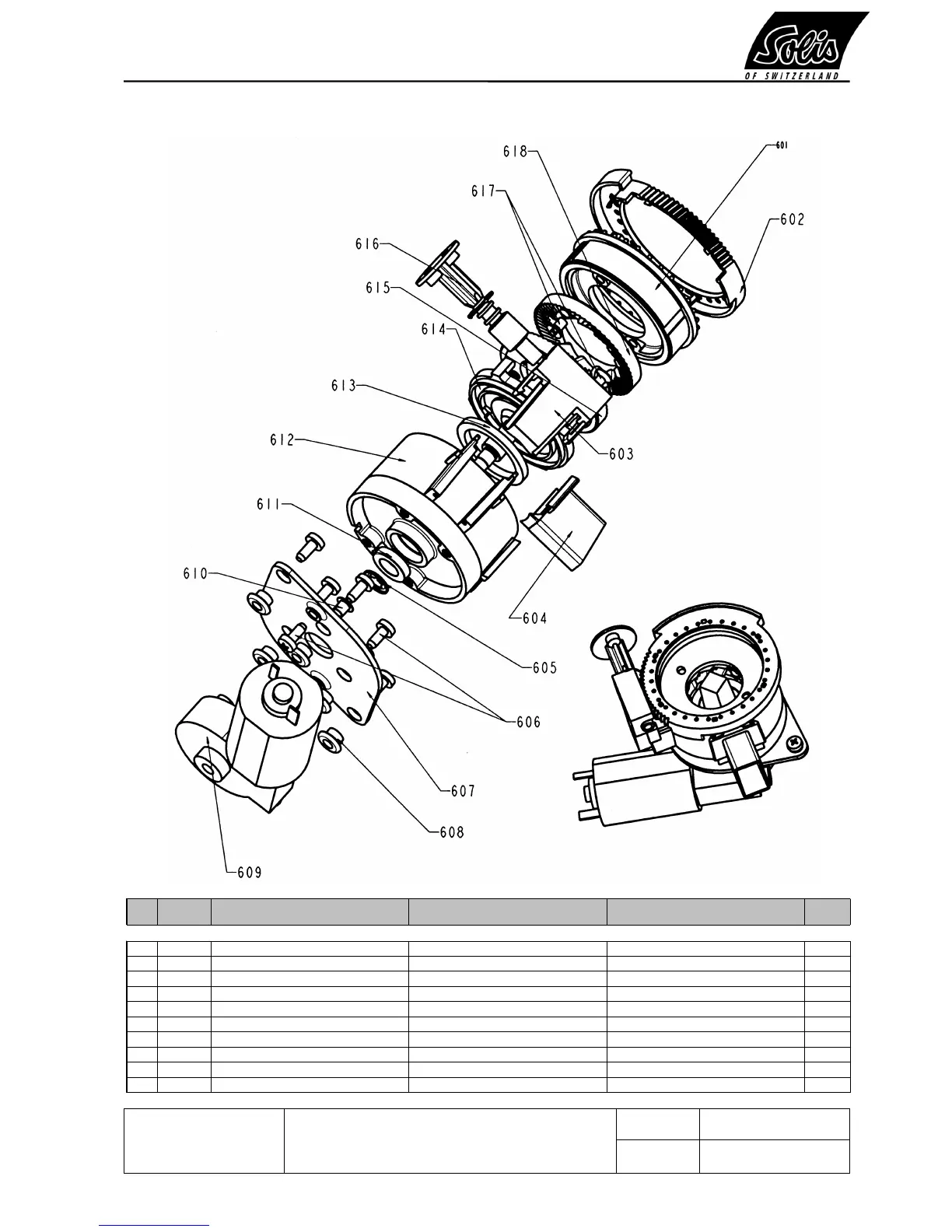
Drawing 6 / Zeichnung 6 / Planche 6
Pos Art-Nr. Artikelbezeichnung Deutsch Description francais Description english Sp set
601 3624.07 Einstellring rondelle de reglage adjusting ring
602 3624.28 Mahlgradscheibe schwarz disque p. degre d.dessech. noir grinding level disc black 2
603 3624.25 Wellenlager palier coussinet shaft bearing
604 3624.37 Pulverauslauf sortie de poudre coffee powder outlet 2
608 3624.34 Dämpfer Motorplatte silencieux p. plaque de moteur shock absorber to motor
609 3624.31 Mühlemotor moteur gmpg GMPG motor 1
615 3624.16 Mahlscheibe drehend element broyer tournant grinding disc rotating 2
616 3624.22 Schneckenwelle schwarz arbre noir worm shaft black to grinder
617 3624.43 Senkschraube M5 x 8 vis m5x8 screw M 5x8
618 3624.13 Mahlscheibe element broyeur fixe grinding disc fix
2

Other manuals for SOLIS Master Top

Related product manuals