EasyManua.ls Logo

SOLIS Master Top - Cleaning Program Execution; Performing the Cleaning Cycle

SOLIS Master Top
38 pages
Print Icon
To Next Page IconTo Next Page
To Next Page IconTo Next Page
To Previous Page IconTo Previous Page
To Previous Page IconTo Previous Page
Loading...
M
Page 17 of 36
SOLIS Ltd
SOLIS-House
CH-8152 Glattbrugg
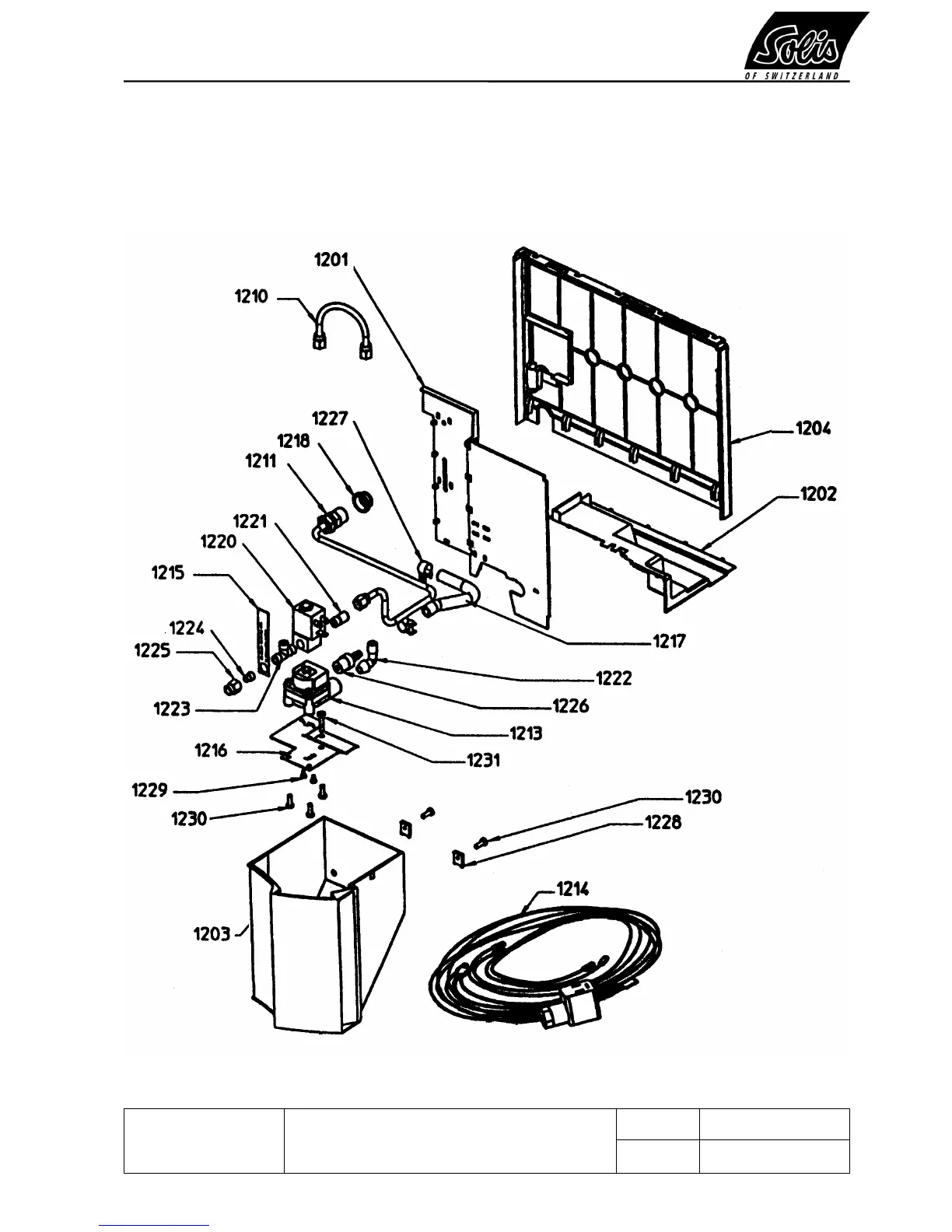
SOLIS MASTER TOP
2_drawing parts Master Top_M
29.08.2005/BB
30.08.05
Technik/Entwicklung
Drawing 12 / Zeichnung 12 / Planche 12

Other manuals for SOLIS Master Top

Related product manuals