EasyManua.ls Logo

Sonic Blue HT2030 - Basic TV Connections; Optional TV Connections

Sonic Blue HT2030
45 pages
Print Icon
To Next Page IconTo Next Page
To Next Page IconTo Next Page
To Previous Page IconTo Previous Page
To Previous Page IconTo Previous Page
Loading...
Connections (Continued)
12
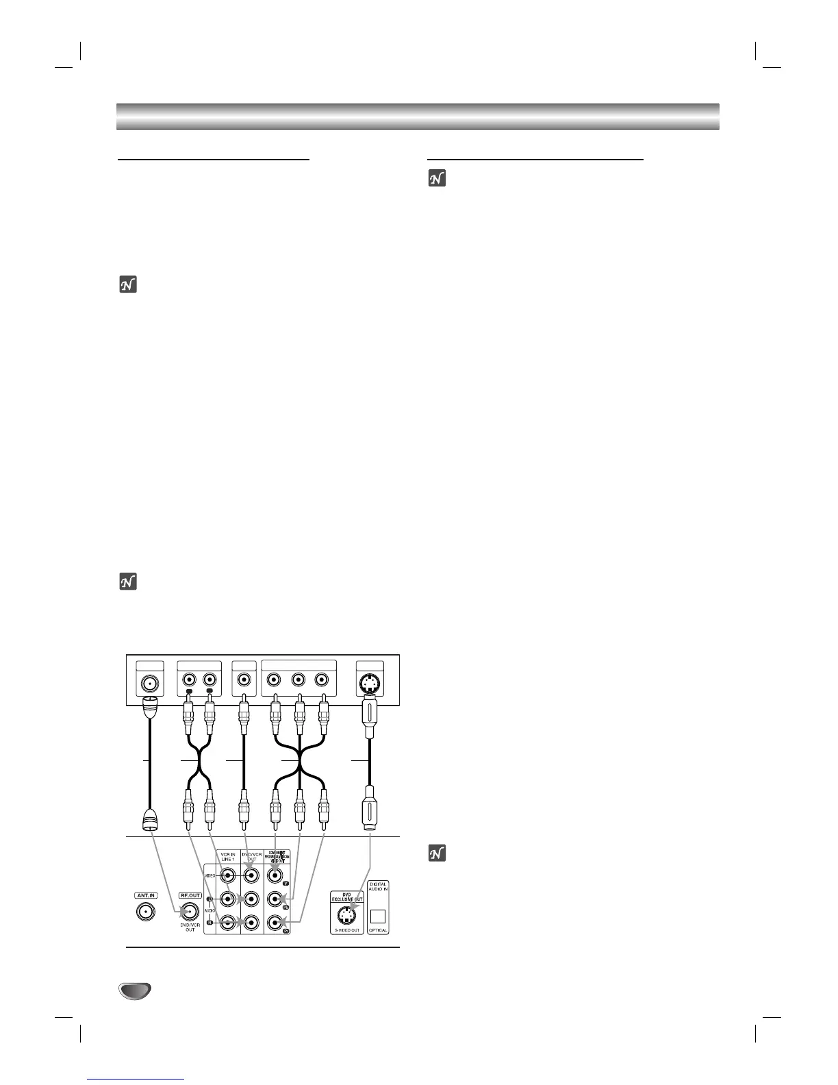
Basic TV Connections
Use one of the following connections, depending on
the capabilities of your TV.
RF coaxial connection
Connect the RF.OUT jack on the DVD+VCR to the
antenna in jack on your TV using the supplied 75-ohm
Coaxial Cable (R).
ote
If you use this connection, tune the TV to the
DVD+VCR’s RF output channel (CH 3 or 4).
How to set the DVD+VCR’s RF output channel
While the DVD+VCR is turned off,
press and hold
CHANNEL (v/V) on the front panel for about five
seconds to change the RF output channel to CH 03 or
CH 04. “RF 03” or “RF 04” will appear on the front panel
display.
Audio/Video connection
11
Connect the DVD/VCR VIDEO OUT jack on the
DVD+VCR to the video in jack on your TV using the
supplied video cable (V).
22
Connect the Left and Right DVD/VCR AUDIO OUT
jacks on the DVD+VCR to the audio left/right in
jacks on your TV (A) using the supplied audio
cables.
ote
If you use this connection, set your TV’s source selector
to VIDEO.
Optional TV Connections
otes
The S-VIDEO OUT and COMPONENT VIDEO
OUT/PROGRESSIVE SCAN connections are for DVD
playback only!
The tuner and VCR will still be output
through the RF.OUT (R) or DVD/VCR OUT (A, V)
jack.
When using the COMPONENT VIDEO OUT/PRO-
GRESSIVE SCAN jacks, set the VIDEO OUTPUT
switch to COMPONENT/PROGRESSIVE. When
using the S-VIDEO OUT jack, set the VIDEO OUT-
PUT switch to S-VIDEO.
S-Video connection
11
Connect the S-VIDEO OUT jack on the DVD+VCR
to the S-Video in jack on your TV using the supplied
S-Video cable (S).
22
Connect the Left and Right AUDIO OUT jacks on the
DVD+VCR to the audio left/right in jacks on your TV
using the supplied audio cables (A).
Component Video (Color Stream
®
) connection
11
Connect the COMPONENT VIDEO OUT jacks on
the DVD+VCR to the corresponding in jacks on
your TV using optional Y/Pb/Pr cables (C).
22
Connect the Left and Right AUDIO OUT jacks of
the DVD+VCR to the audio left/right in jacks on the
TV (A) using the supplied audio cables.
Progressive Scan (ColorStream
®
pro) connection
If your television is a high-definition or “digital ready”
television, you may take advantage of the
DVD+VCR’s progressive scan output for the highest
possible video resolution.
If your TV does not accept the Progressive Scan for-
mat, the picture will appear scrambled if you try
Progressive Scan on the DVD+VCR.
11
Connect the COMPONENT VIDEO OUT/
PROGRESSIVE SCAN jacks on the DVD+VCR to
the corresponding in jacks on your TV using option-
al Y/Pb/Pr cables (C).
22
Connect the Left and Right AUDIO OUT jacks of
the DVD+VCR to the audio left/right in jacks on
your TV (A) using the supplied audio cables.
otes
Set “Progressive” to “On” on the DVD setup menu
when using the progressive signal (see page 23).
Progressive scan does not work with the analog video
connections (yellow VIDEO OUT jack).
ANTENNA
INPUT
R
L
R
Y
Pb
Pr
COMPONENT VIDEO INPUT
AUDIO INPUT
L
VIDEO
INPUT
S-VIDEO
INPUT
Rear of TV
Rear of DVD+VCR
SA V C

Table of Contents

Related product manuals