EasyManua.ls Logo

Sony BDP-S186 - Page 93

Sony BDP-S186
105 pages
Print Icon
To Next Page IconTo Next Page
To Next Page IconTo Next Page
To Previous Page IconTo Previous Page
To Previous Page IconTo Previous Page
Loading...
9-9
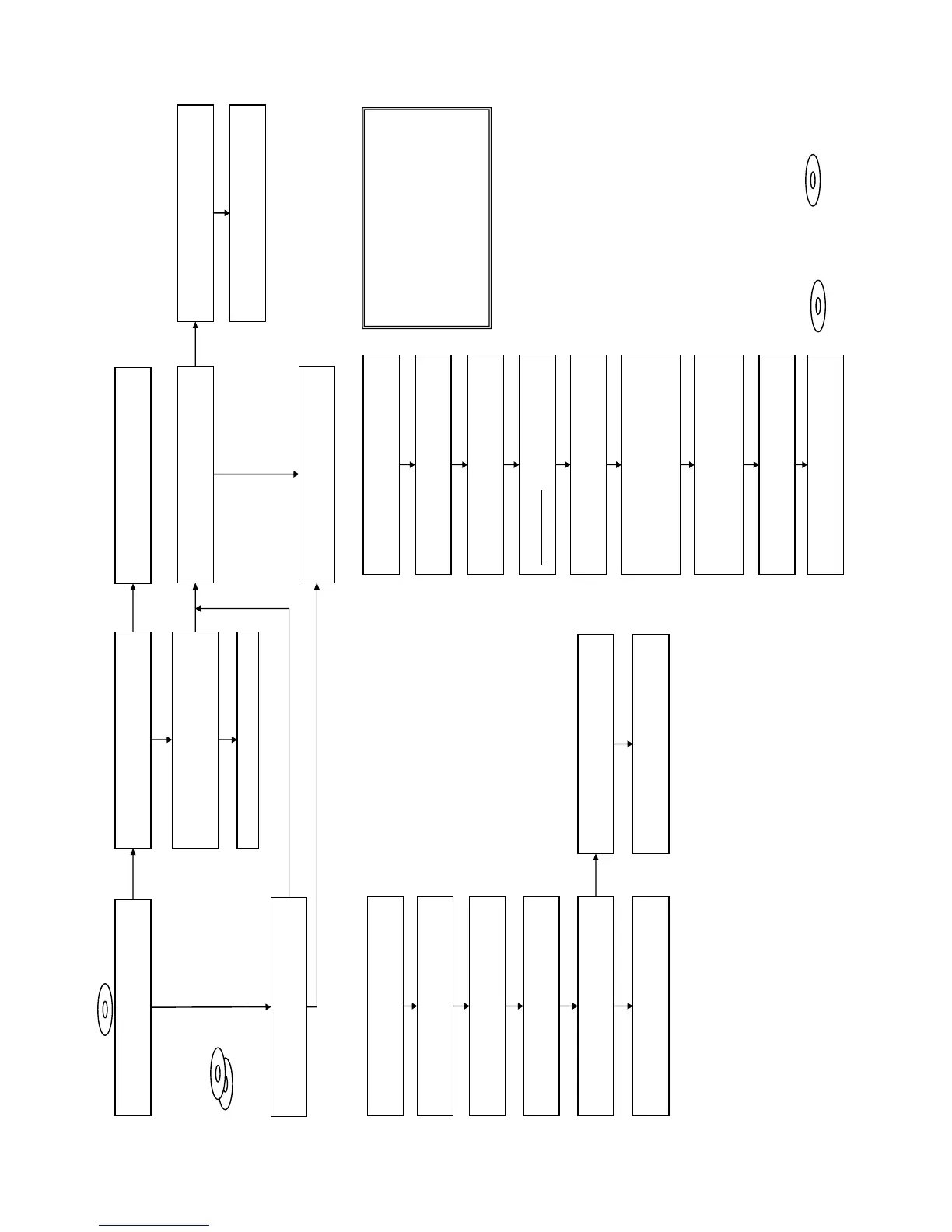
Optical Block Unit (BU) IOP check flow (zz) ~ [Before BU Replacement] Optical Block Unit (BU) OP Data Write Flow (yy) ~ [After BU/MB Replacement]
BDP-S185 can play the BD-disc
BLX-104
BDP-S185 can play the DVD/CD-disc
Check Drive Power Supply
CN301 Pin 3: 12V /
IC309 P
in 1: 5V
Check PS301, PS302
Replace PS when open
Check / replace the FFC cable, then check
BDP-S
185 operates normally
OPT-001
F
FC cable (1-838-615-11)
SPD-001 FFC cable (1-838-617-11)
Check the Optical Block Unit (BU) by
service mode. (Flowchart zz)
BU IOP is OK?
Replace the Optical Block Unit (BU)
Optical Block Unit (BU) replace
(Flowchart yy)
OK
Optical Block or BU no problem
DVD: HLX-513
CD: HLX-A1
NO
YES
NO
YES
YES
NO
NO
YES
NO
YES
Enter Service Mode
Press
<OPEN/CLOSE>., <PLAY>,<STOP>
and plug in AC Power
Inside *Service Mode Menu
Select [8] Drive
Inside *Drive
Select [7] OP Check Menu
Inside *OP Check Menu
Select [2] dIOP then press 'ENTER'
Specification dIOP
BD: 6mA
DVD, CD: 9mA
IOP out of specification need BU
replacement
Optical Block Unit (BU) replace
(Flowchart yy)
AC Power OFF
NO
YES
Remove the defective BU from Loading
Assy and also remove BU insulator (4pcs)
Unpack new BU and take OP Data
Barcode photo by camera
Assemble BU with Insulators to Loading
Assy (tighten screw with 2kgf)
Decode the OP Data Barcode photo using
BDPRdec.exe
and save the test data to
USB memory
(File Name: BuData.txt)
Enter Service Mode and insert USB
memory to USB connector
Select [8] Drive -->
Select [1] Drive OP data Write
Press ENTER
After Finishing ReWrite OP data
--> Turn AC Power OFF
And confirm dIOP by select [7] OP Check
Menu to verify IOP in specification
IOP in specification --> Turn AC Power
OFF
Turn Power ON and check playback
performance using BD, DVD and CD
BLX-104
DVD: HLX-513
CD: HLX-A1
The following cases need OP Data Write:
(1) Replace BU (MB is original)
(2) Replace MB (BU is original)
(3) Replace both BU and MB
JIG requirement
Digital camera (with macro mode)
Barcode decoder (BDPRdec.exe)
installed in jig
PC's (jig purpose)
USB memory
ESD free work bench
l
Drive flowchart
-
+
-
+
BDP-BX18/S185/S186

Related product manuals