EasyManua.ls Logo

Sony BDP-S270 - Guide to Parts and Controls; Front Panel; Rear Panel

Sony BDP-S270
35 pages
Print Icon
To Next Page IconTo Next Page
To Next Page IconTo Next Page
To Previous Page IconTo Previous Page
To Previous Page IconTo Previous Page
Loading...
8
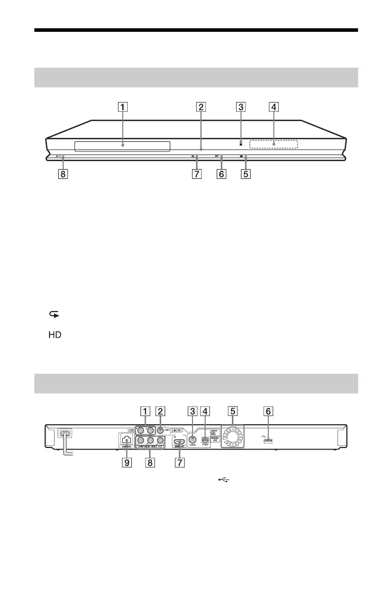
Guide to Parts and Controls
z
The N button has a tactile dot. Use the tactile dot as a reference when operating the player.
A Disc tray
B Power indicator
Lights up in white when the player is
turned on.
C Remote sensor
D Front panel display
N, X: Lights up during playback or
pause.
: Lights up when enabling the repeat
setting.
: Lights up when outputting 720p/
1080i/1080p video signals.
E x (stop)
F N (play)
G Z (open/close)
H [/1 (on/standby)
Turns on the player, or sets to standby
mode.
To lock the disc tray (Child Lock)
You can lock the disc tray to prevent it being
opened by mistake.
When the player is turned on, hold down N
on the player for more than 10 seconds. The
disc tray is locked or unlocked.
A LINE OUT (R-AUDIO-L) jacks
B LINE OUT (VIDEO) jack
C DIGITAL OUT (COAXIAL) jack
D DIGITAL OUT (OPTICAL) jack
E Ventilation holes
F (USB) jack
G HDMI OUT jack
H COMPONENT VIDEO OUT
(Y, P
B, PR) jacks
I LAN (100) terminal
Front panel
Rear panel

Related product manuals