EasyManua.ls Logo

Sony BDV-E380 - Parts and Controls Identification; Front Panel Controls; Soft-Touch Buttons Operation

Sony BDV-E380
80 pages
Print Icon
To Next Page IconTo Next Page
To Next Page IconTo Next Page
To Previous Page IconTo Previous Page
To Previous Page IconTo Previous Page
Loading...
11
GB
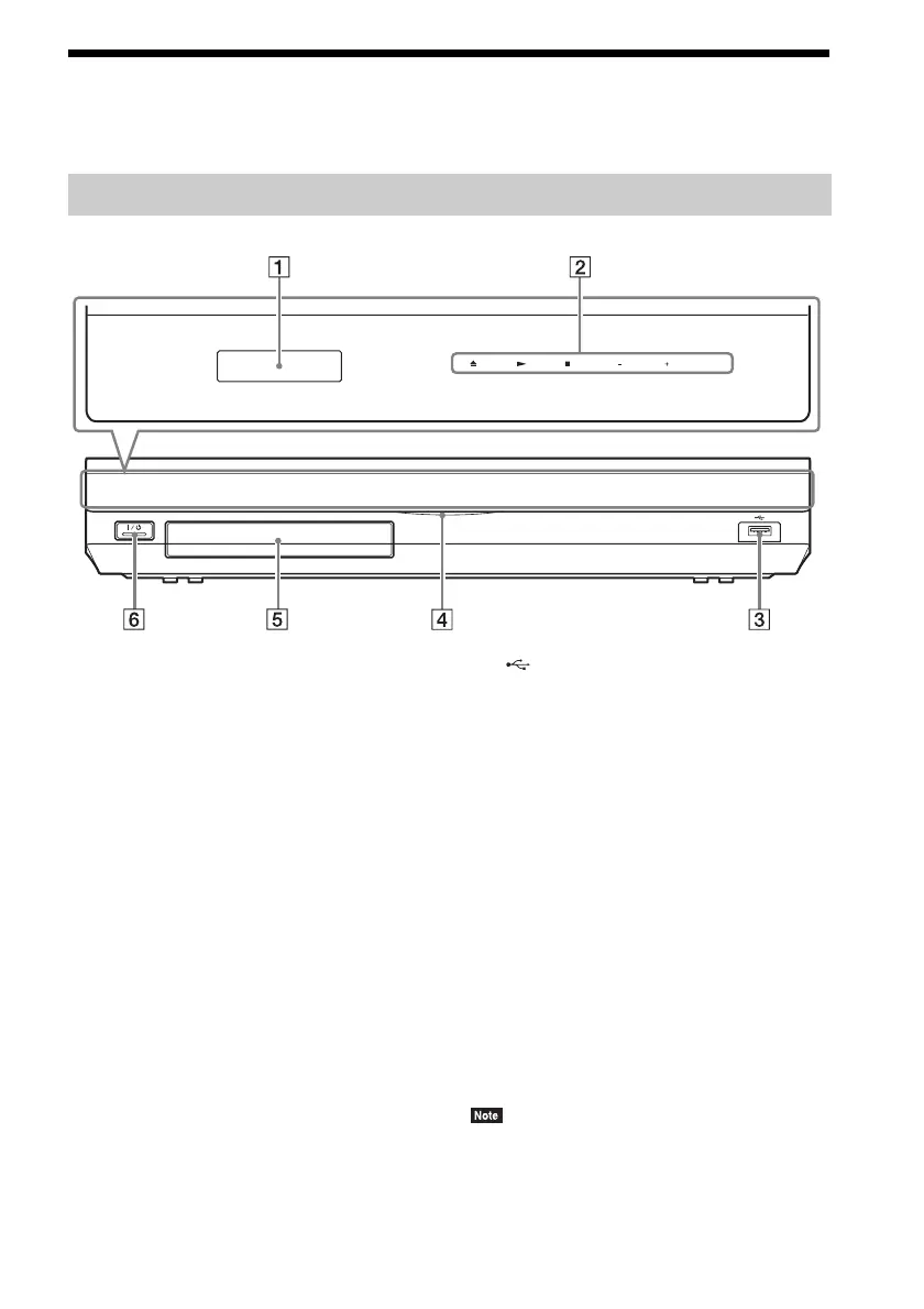
Index to Parts and Controls
For more information, refer to the pages indicated in parentheses.
A Front panel display
B Soft-touch buttons/indicators
Z (open/close) (page 34)
Opens or closes the disc tray.
N (play)
Starts or re-starts playback (resume play).
Plays a slideshow when a disc containing
JPEG image files is inserted.
x (stop)
Stops playback and remembers the stop
point (resume point).
The resume point for a title/track is the last
point you played or the last photo for a
photo folder.
VOL +/–
Adjusts the system’s volume.
FUNCTION
Selects the playback source.
C (USB) port (page 35)
Used for connecting a USB device.
D Power indicator
Lights up while the system is turned on.
E Disc tray (page 34)
F "/1 (on/standby)/Remote sensor
Turns on the unit, or sets it to standby mode.
About soft-touch buttons/
indicators
These buttons function when the soft-touch
button indicators are lit.
You can turn on/off the indicators by setting
[Illumination/Display] (page 61). When you set
[Illumination/Display] to [Simple/Off], the
indicators turn off. In this case, touch any soft-
touch button. When the indicators light up,
touch the desired button.
These buttons work when you touch them lightly. Do
not press on them with excessive force.
Front panel
VOL VOL FUNCTION

Table of Contents

Other manuals for Sony BDV-E380

Related product manuals