EasyManua.ls Logo

Sony BDV-E380 - Front Panel Display Indicators; Understanding Display Icons

Sony BDV-E380
80 pages
Print Icon
To Next Page IconTo Next Page
To Next Page IconTo Next Page
To Previous Page IconTo Previous Page
To Previous Page IconTo Previous Page
Loading...
12
GB
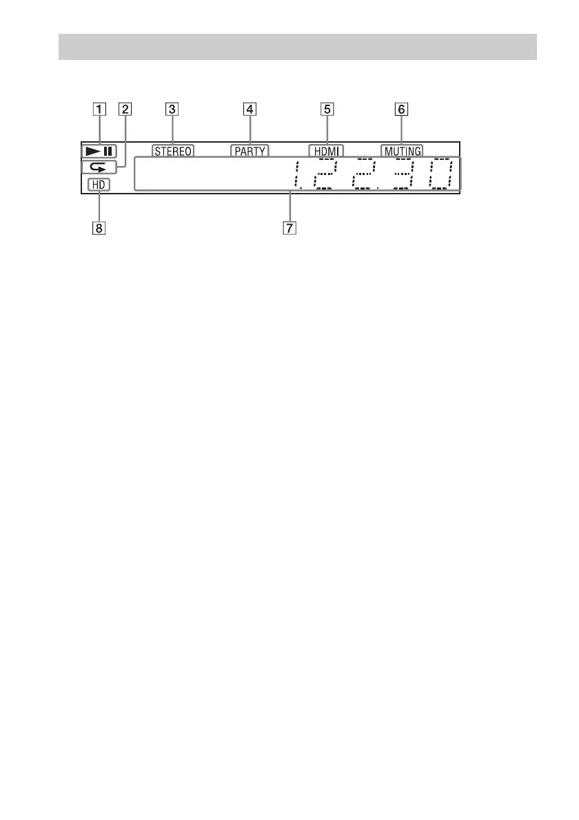
About the indications in the front panel display
A Displays the system’s playing status.
B Lights up when repeat play is
activated.
C Lights up when stereo sound is
received. (Radio only)
D Lights up when the system is playing
via the PARTY STREAMING function.
E Lights up when the HDMI (OUT) jack is
correctly connected to an HDCP (High-
bandwidth Digital Content Protection)-
compliant device with HDMI or DVI
(Digital Visual Interface) input.
F Lights up when muting is on.
G Displays the system’s status, such as
radio frequency, etc.
H Lights up when outputting 720p/1080i/
1080p video signals from the HDMI
(OUT) jack or 720p/1080i video signals
from the COMPONENT VIDEO OUT
jacks*.
* COMPONENT VIDEO OUT jacks are
equipped on non-European/non-Saudi Arabian
models.
Front panel display

Table of Contents

Other manuals for Sony BDV-E380

Related product manuals