EasyManua.ls Logo

Sony BDV-EF200 - Index to Parts and Controls

Sony BDV-EF200
64 pages
Print Icon
To Next Page IconTo Next Page
To Next Page IconTo Next Page
To Previous Page IconTo Previous Page
To Previous Page IconTo Previous Page
Loading...
7
GB
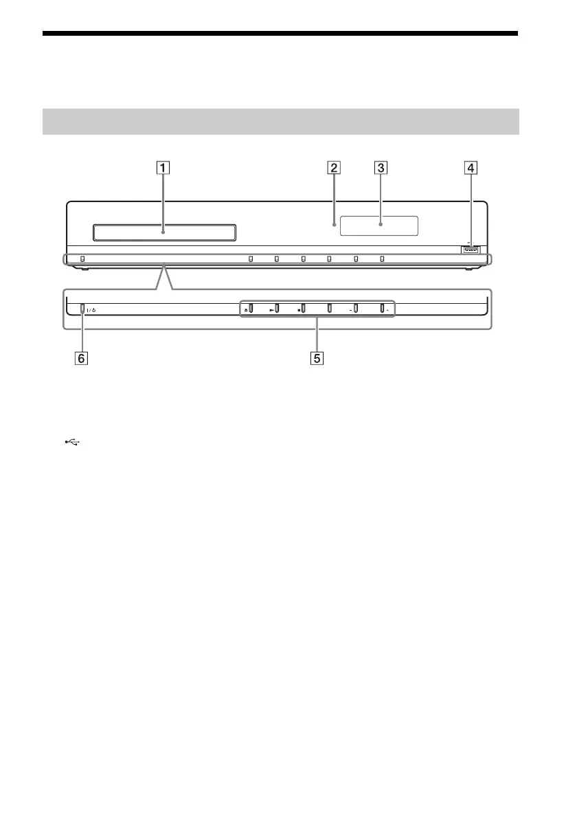
Index to Parts and Controls
For more information, refer to the pages indicated in parentheses.
A Disc tray (page 25)
B Remote sensor
C Front panel display
D (USB) port (page 26)
Used for connecting a USB device.
E Play operation buttons
Z (open/close) (page 25)
Opens or closes the disc tray.
N (play)
Starts or re-starts playback (resume play).
Plays a slideshow when a disc containing
JPEG image files is inserted.
x (stop)
Stops playback and remembers the stop
point (resume point).
The resume point for a title/track is the last
point you played or the last photo for a
photo folder.
FUNCTION
Selects the playback source.
VOLUME +/–
Adjusts the system’s volume.
F "/1 (on/standby)
Turns on the unit, or sets it to standby mode.
Front panel
VOLUM E
FUNCTION

Table of Contents

Other manuals for Sony BDV-EF200

Related product manuals