EasyManua.ls Logo

Sony BDV-IT1000 - Front Panel

Sony BDV-IT1000
159 pages
Print Icon
To Next Page IconTo Next Page
To Next Page IconTo Next Page
To Previous Page IconTo Previous Page
To Previous Page IconTo Previous Page
Loading...
9
GB
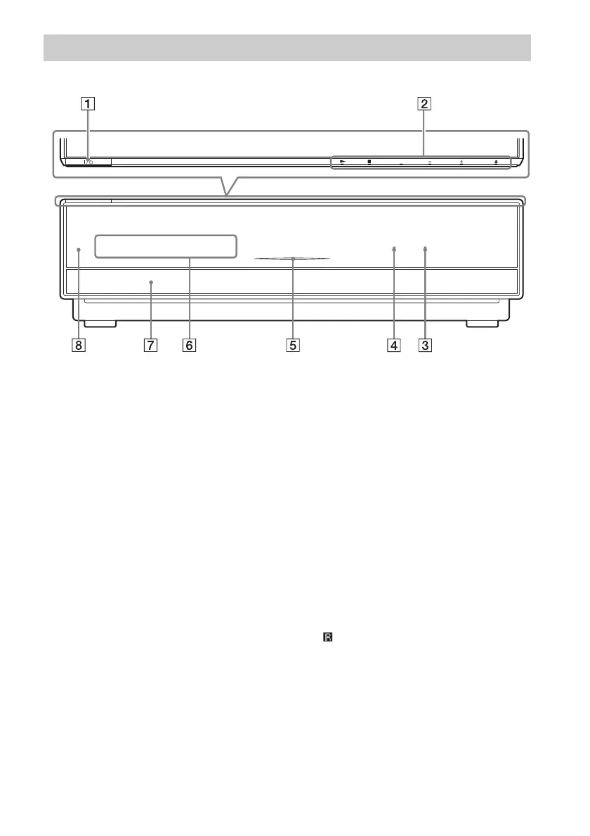
A "/1 (on/standby) (74)
Turns on the unit, or sets to standby mode.
B Soft-touch buttons (74)
These buttons work by touching lightly
around the printed area or projecting part.
Do not press them strongly.
H (play)
Starts or re-starts playback.
Plays a slideshow when a disc containing
JPEG image files is inserted.
x (stop)
Stops playback and remembers the stop
point (resume point).
The resume point for a title/track is the last
point you played or the last photo for a
photo folder.
FUNCTION
Selects the playback source.
VOLUME +/–
Adjusts the system’s volume.
A (open/close)
Opens or closes the disc tray.
C S-AIR indicator
Lights up when the S-AIR transceiver is
inserted in the unit and the system transmits
the sound.
D HDMI indicator
Lights up when the HDMI OUT jack is
correctly connected to HDCP (High-
bandwidth Digital Content Protection)
compliant device with HDMI or DVI
(Digital Visual Interface) input.
E DISC indicator
Flashing: The system is loading a disc.
Lighting up: A disc is loaded. (When no
disc is loaded, the DISC indicator is not lit.)
F Front panel display
G Disc tray (74)
H (remote sensor) (16)
Front panel
FUNCTION VOLUME
HDMI S-AIR

Table of Contents

Related product manuals