EasyManua.ls Logo

Sony CDX-CA850 - Page 73

Sony CDX-CA850
172 pages
Print Icon
To Next Page IconTo Next Page
To Next Page IconTo Next Page
To Previous Page IconTo Previous Page
To Previous Page IconTo Previous Page
Loading...
5
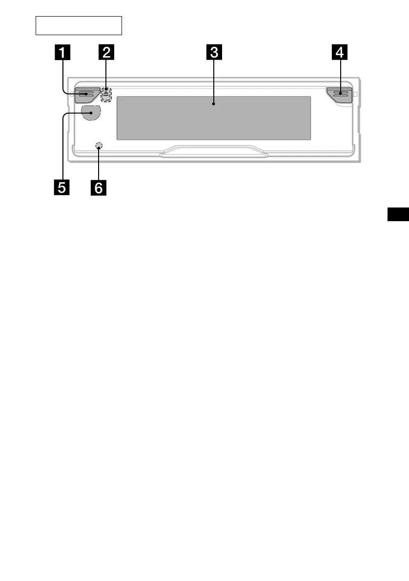
a Touche on/off (marche/arrêt)*
b Touche Z (eject) (située sur la partie
avant de lappareil, derrière la façade) 9
c Fenêtre daffichage
d Touche OPEN 8, 9
e cepteur pour la mini-
télécommande et le satellite de
commande
f Touche RESET (située à lavant de
l’appareil, derrière la façade) 7
* Avertissement en cas dinstallation de
l’appareil dans une voiture dont le contact
ne comporte pas de position ACC
(accessoires)
Après avoir coupé le moteur, noubliez pas
d’appuyer sur la touche on/off (marche/arrêt)
de lappareil (ou sur (OFF) de la mini-
télécommande ou du satellite de commande)
pendant 2 secondes pour désactiver
l’affichage de lhorloge.
Dans le cas contraire, laffichage nest pas
sactivé et cela risque de décharger la batterie.
Pour mettre lappareil sous tension, appuyez sur la
touche on/off (marche/arrêt) (
1) de lappareil.
Remarque
Si lappareil est mis hors tension en appuyant sur
la touche on/off (marche/arrêt) (ou sur la touche
(OFF) de la mini-télécommande ou du satellite
de commande) pendant 2 secondes, lappareil ne
peut plus être commandé par la mini-
télécommande ou le satellite de commande sauf
si vous appuyez sur le bouton on/off de lappareil
ou si vous insérez un disque pour activer
l’appareil.
Appareil principal
CDX-CA850
OPEN

Table of Contents

Related product manuals