EasyManua.ls Logo

Sony CDX-G3150UP - Guide to Parts and Controls

Sony CDX-G3150UP
20 pages
Print Icon
To Next Page IconTo Next Page
To Next Page IconTo Next Page
To Previous Page IconTo Previous Page
To Previous Page IconTo Previous Page
Loading...
4GB
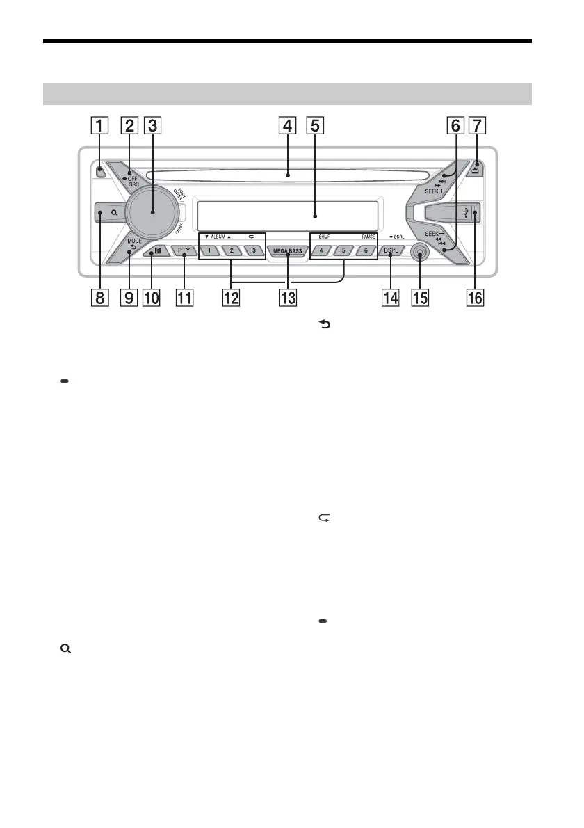
Guide to Parts and Controls
Front panel release button
SRC (source)
Turn on the power.
Change the source.
OFF
Press and hold for 1 second to turn the source
off and display the clock.
Press and hold for more than 2 seconds to turn
off the power and the display.
Control dial
Rotate to adjust the volume.
PUSH ENTER
Enter the selected item.
MENU
Open the setup menu.
Disc slot
Display window
SEEK +/–
Tune in radio stations automatically. Press and
hold to tune manually.
/ (prev/next)
/ (fast-reverse/fast-forward)
 (disc eject)
(browse) (page 8, 9)
Enter the browse mode during playback.
(back)
Return to the previous display.
MODE (page 6, 8, 9)
Receptor for the remote commander
PTY (program type)
Select PTY in RDS.
Number buttons (1 to 6)
Receive stored radio stations. Press and hold to
store stations.
ALBUM /
Skip an album for audio device. Press and hold
to skip albums continuously.
Press to thumbs up, or to thumbs down in
Pandora® (page 9).
(repeat)
SHUF (shuffle)
PAUSE
MEGA BASS
Press to turn on/off the MEGA BASS function.
DSPL (display)
Press to change display items.
SCRL
Press and hold to scroll a display item.
AUX input jack
USB port
Main unit

Related product manuals