EasyManua.ls Logo

Sony CDX-L480X - Setting the Clock

Sony CDX-L480X
116 pages
Print Icon
To Next Page IconTo Next Page
To Next Page IconTo Next Page
To Previous Page IconTo Previous Page
To Previous Page IconTo Previous Page
Loading...
8
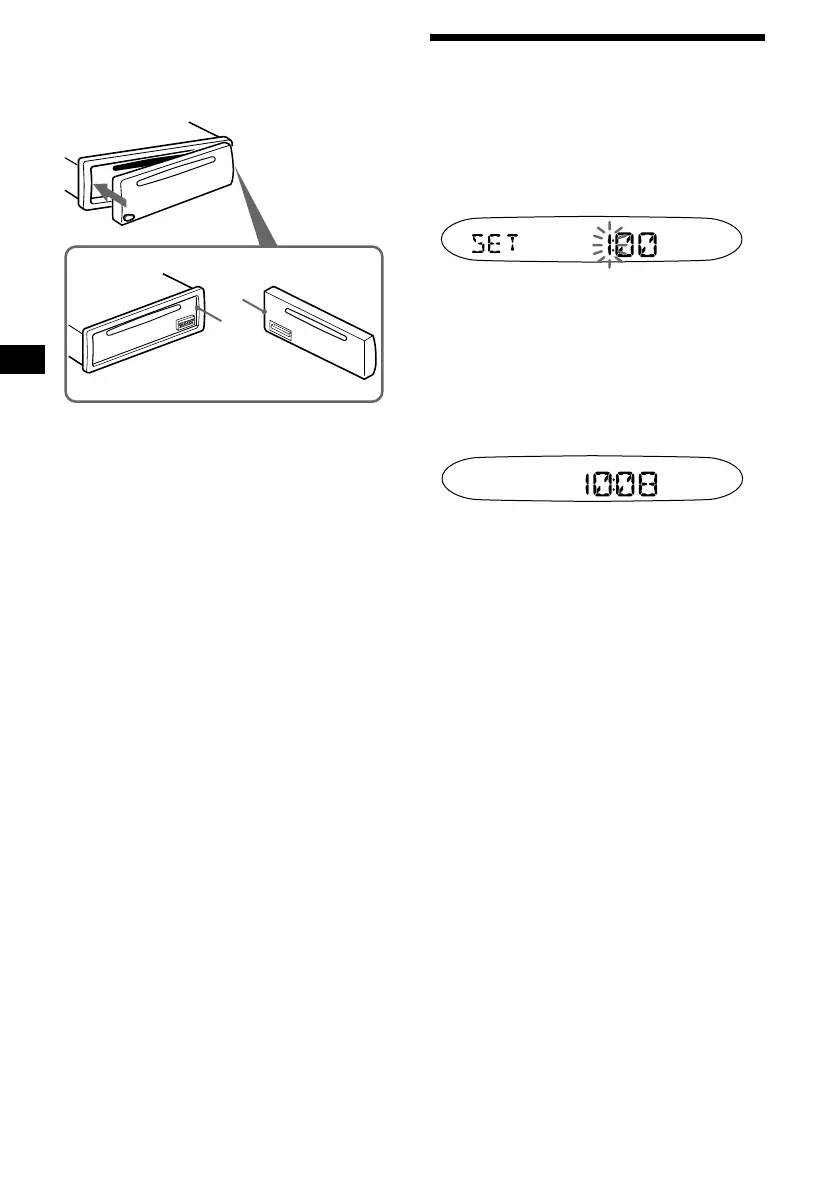
Attaching the front panel
Attach part A of the front panel to part B of the
unit as illustrated and push the left side into
position until it clicks.
Note
Do not put anything on the inner surface of the front
panel.
Setting the clock
The clock uses a 24-hour digital indication.
Example: To set the clock to 10:08
1 Press (DSPL) for 2 seconds.
The hour indication flashes.
1Press the volume +/– button to set
the hour.
2Press (SEL).
The minute indication flashes.
3Press the volume +/– button to set
the minute.
2 Press (DSPL).
The clock starts. After the clock setting is
completed, the display returns to normal play
mode.
Tip
You can set the clock automatically with the RDS
feature (page 15).
A
B

Table of Contents

Other manuals for Sony CDX-L480X

Related product manuals