EasyManua.ls Logo

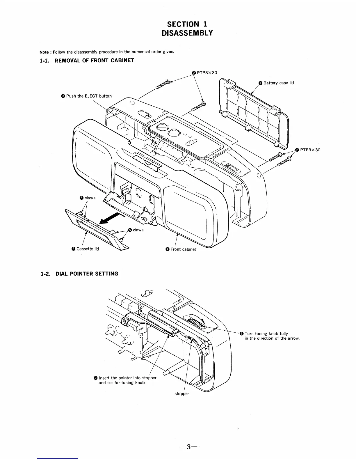
Sony CFS-200 - SECTION 1 DISASSEMBLY; REMOVAL OF FRONT CABINET; DIAL POINTER SETTING

Sony CFS-200
17 pages
Print Icon
To Next Page IconTo Next Page
To Next Page IconTo Next Page
To Previous Page IconTo Previous Page
To Previous Page IconTo Previous Page
Loading...

Related product manuals