EasyManua.ls Logo

Sony CMT-EX5 - Button Locations and Reference Pages; Main unit Button Locations

Sony CMT-EX5
28 pages
Print Icon
To Next Page IconTo Next Page
To Next Page IconTo Next Page
To Previous Page IconTo Previous Page
To Previous Page IconTo Previous Page
Loading...
4
GB
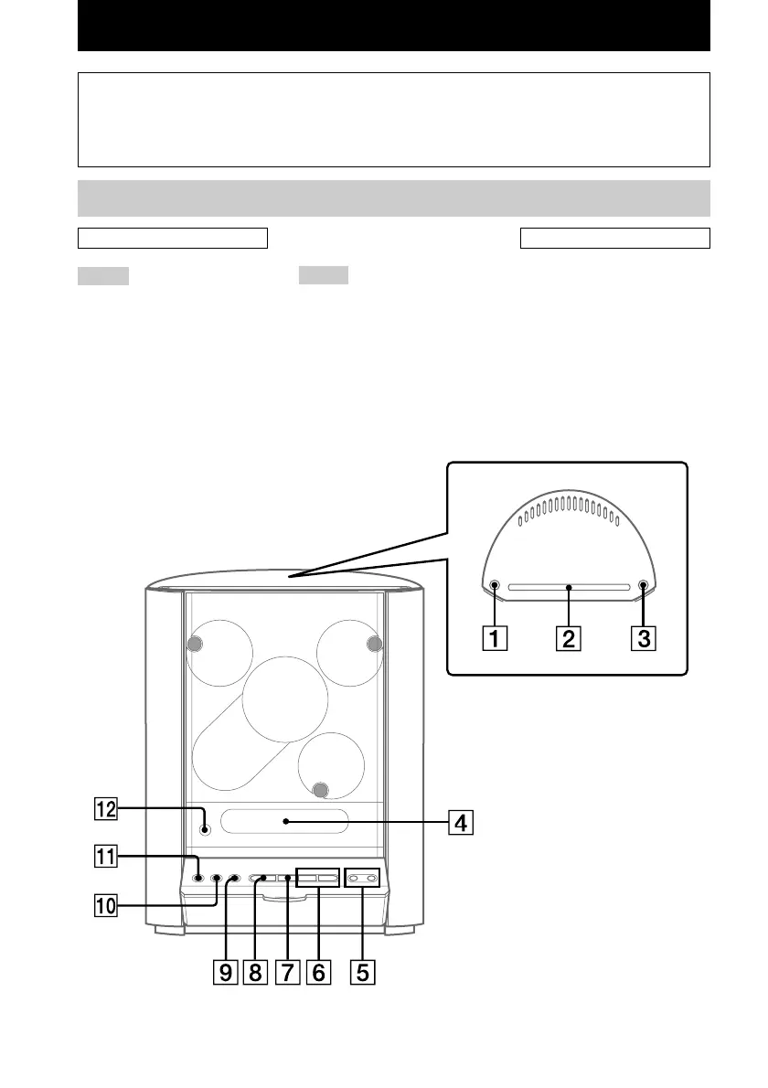
List of Button Locations and Reference Pages
How to use this page
Use this page to find the location of buttons and other
parts of the system that are mentioned in the text.
Main unit
ALPHABETICAL ORDER
A – Q
Disc slot 2 (23)
Display window 4
DISPLAY qa (16, 19, 20)
FUNCTION 0 (9 - 13, 15, 22,
24)
R – Z
Remote sensor qs
TUNER/BAND 9 (13 - 15, 24)
TUNING +/ 6 (13 -15)
VOLUME +/ 5 (18)
Illustration number
r
TUNER/BAND 9 (13 - 15, 24)
RR
Name of button/part Reference page
BUTTON DESCRIPTIONS
@/1 (power) 1
Z 3
./> 6
m/M 6
x 7
NX 8
To open the front cover, push
down on the knob under the
display window.

Other manuals for Sony CMT-EX5

Related product manuals