EasyManua.ls Logo

Sony D-66 - Page 13

Sony D-66
18 pages
Print Icon
To Next Page IconTo Next Page
To Next Page IconTo Next Page
To Previous Page IconTo Previous Page
To Previous Page IconTo Previous Page
Loading...
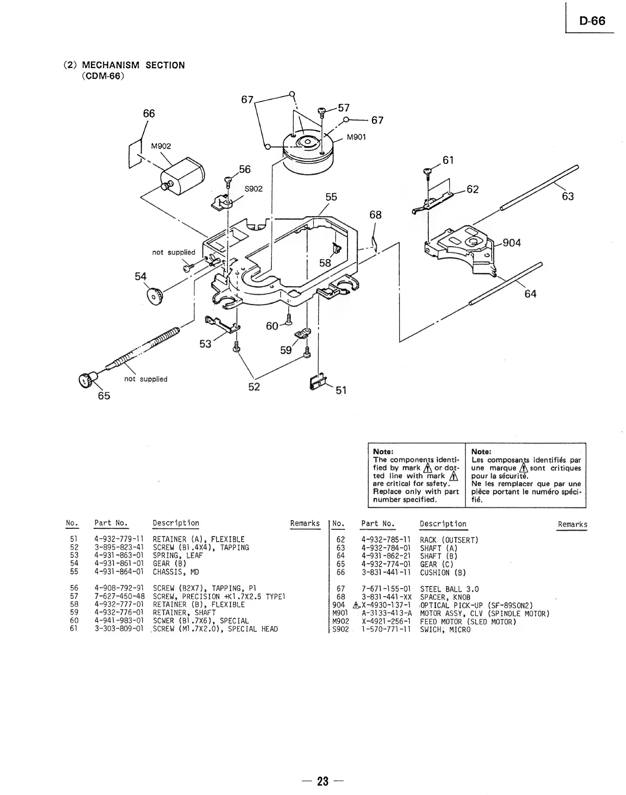
(2)
MECHANISM
SECTION
The
components
identi-
ted
line
with
mark
are
critical
for
safety.
Replace
only
with
part
D-66
63
Note:
Les
composants
identifiés
par
sont
critiques
or
dot-
|
une
marque
pour
la
sécurité.
Ne
les
remplacer
que
par
une
piéce
portant
le
numéro
spéci-
number
specified.
fié.
(CDM-66)
66
Mg02
not
supplied
>
yO?
54
Be
ca
ss
_*
s
i
not
supplied
GX
52
51
65
Note:
fied
by
mark
Part
No.
Description
Remarks
|No.
Part
No.
4-932-779-11
RETAINER
(A),
FLEXIBLE
62
4~-932-785-11
3-895-823-41
SCREW
(B1.4X4),
TAPPING
63
4-932-784-01
4-931
-863-01
SPRING,
LEAF
64
4-931
-862-21
4-931-861-01
GEAR
(B)
65
4-932-774-01
4-931
-864-01
CHASSIS,
MD
66
3-831
-441
-11
4-908-792-91
SCREW
(B2X7)},
TAPPING,
P1
67
7~671-155-01
7-627-450-48
SCREW,
PRECISION
+K1.7X2.5
TYPE]
68
3-831
-441
-XX
4-932-777-01
RETAINER
(B),
FLEXIBLE
904
A,X-4930-137-1
4-932-776-01
RETAINER,
SHAFT
M901
=
A-3133-413-A
4-941
-983-01
SCWER
(B1.7X6),
SPECIAL
M902
X-4921-256-1
3-303-809-01
SCREW
(M1.7X2.0),
SPECIAL
HEAD
$902.
1-570-771-11
Description
Remarks
RACK
(OUTSERT)
SHAFT
(A)
SHAFT
(B)
GEAR
(C)
CUSHION
(B)
STEEL
BALL
3.0
SPACER,
KNOB
‘OPTICAL
PICK-UP
(SF~-89SON2)
MOTOR
ASSY,
CLV
(SPINDLE
MOTOR)
FEED
MOTOR
(SLED
MOTOR)
SWICH;
MICRO

Related product manuals