EasyManua.ls Logo

Sony DSX-A510BD - Emplacement des Commandes

Sony DSX-A510BD
208 pages
Print Icon
To Next Page IconTo Next Page
To Next Page IconTo Next Page
To Previous Page IconTo Previous Page
To Previous Page IconTo Previous Page
Loading...
5FR
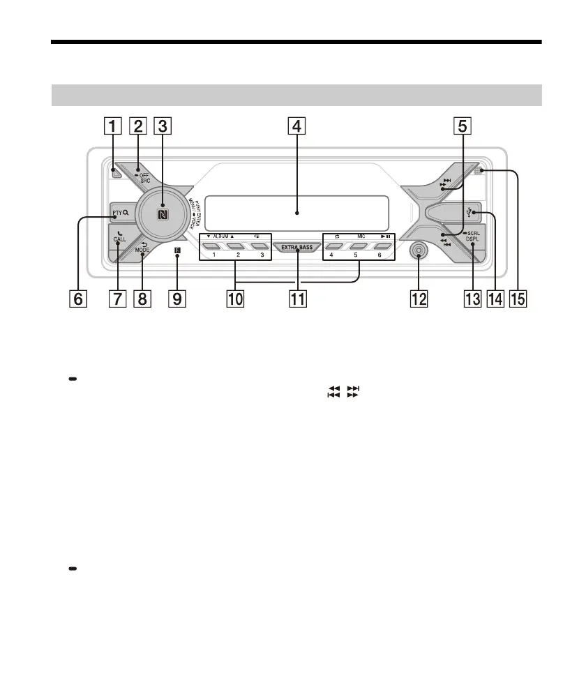
Emplacement des commandes
Touche de déverrouillage de la façade avant
SRC (Source)
Permet de mettre l’appareil sous tension.
Permet aussi de changer de source.
OFF
Maintenez enfoncé pendant 1 seconde pour
désactiver la source et afficher l’horloge.
Maintenez enfoncé pendant plus de 2 secondes
pour mettre l’appareil hors tension et pour faire
disparaître l’affichage.
Molette de réglage
Tournez cette commande pour régler le niveau
du volume.
PUSH ENTER
Permet d’accéder à l’élément sélectionné.
Appuyez sur SRC, tournez puis appuyez pour
modifier la source (délai de 2 secondes).
MENU
Permet d’ouvrir le menu de configuration.
VOICE (page 20, 22)
Appuyez et maintenez enfoncé pendant plus de
2 secondes pour activer la numérotation vocale,
la reconnaissance vocale (smartphone
Android™ uniquement) ou la fonction Siri
(iPhone uniquement).
Repère en forme de lettre N
Touchez la molette de réglage avec le
smartphone Android pour établir une connexion
BLUETOOTH.
Fenêtre d’affichage
/ (SEEK/+)
Pendant la réception DAB :
Sélectionnez une station.
Appuyez sur la touche et maintenez-la
enfoncée pour rechercher un groupe de
stations.
(Disponible seulement lorsque [SEEK BY] est
défini sur [STATION GP].)
Pendant la réception FM/MW (PO)/LW (GO) :
Permettent de régler des stations
automatiquement. Maintenez enfoncé pour
rechercher une station manuellement.
/ (Précédent/Suivant)
/ (Retour rapide/Avance rapide)
Appareil principal

Table of Contents

Related product manuals