EasyManua.ls Logo

Sony FD Trinitron KV-29LS40B - 6 Exploded Views; Chassis

Sony FD Trinitron KV-29LS40B
49 pages
Print Icon
To Next Page IconTo Next Page
To Next Page IconTo Next Page
To Previous Page IconTo Previous Page
To Previous Page IconTo Previous Page
Loading...
SECTION 6
EXPLODED VIEWS
NOTE :
Items with no part number and no description are not
stocked because they are seldom required for routine
service.
The construction parts of an assembled part are indicated
with a collation number in the remarks column.
Items marked “*” are not stocked
since they are seldom required for
routine service. Some delay should
be anticipated when ordering these
items.
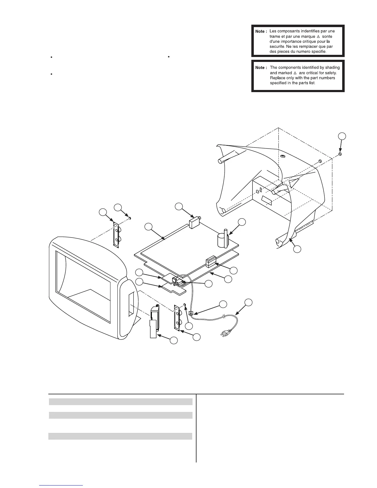
6-1. CHASSIS
REF.NO. PART.NO DESCRIPTION REMARK REF.NO. PART.NO DESCRIPTION REMARK
- 35 -
1 £ 1-571-433-21 SWITCH, PUSH (AC POWER)
2 *4-202-531-01 AC CORD LOCK (SC)
3 £ 1-765-286-11 CORD, POWER
4 *4-206-048-02 BRACKET, MAIN
5 1-424-733-11 COIL, PFC CHOKE 65MMH
6 £ 1-453-308-51 TRANSFORMER ASSY, FLYBACK (NX-4521//Z2B4)
7 8-598-535-20 FRONTEND BTF-EF411 (KV-29LS40B)
8-598-533-10 FRONTEND BTF-EC411 (KV-29LS40E/K)
8 *A-1052-332-A A BOARD, COMPLETE (KV-29LS40B)
*A-1052-327-A A BOARD, COMPLETE (KV-29LS40E/K)
9 *A-1624-104-A F2 BOARD, COMPLETE
10 *4-206-055-03 BRACKET, F2
11 1-529-408-11 SPEAKER (4.2x24CM)
12 4-058-870-01 SCREW (4x16), W(+) P TAPPING
13 *A-1646-239-A H2 BOARD, COMPLETE
14 4-205-945-21 REAR COVER
15 7-685-663-79 SCREW, +BVTP 4x16 TYPE 2 IT-3
2
5
9
12
14
15
11
6
4
7
8
10
1
3
12
13
11

Related product manuals