EasyManua.ls Logo

Sony FDR-AX40 - Parts and Controls

Sony FDR-AX40
60 pages
Print Icon
To Next Page IconTo Next Page
To Next Page IconTo Next Page
To Previous Page IconTo Previous Page
To Previous Page IconTo Previous Page
Loading...
GB
52
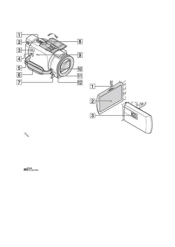
Parts and controls
Figures in ( ) are reference
pages.
PHOTO button (22, 24)
Power zoom lever (24)
Multi/Micro USB Terminal
Supports Micro USB compatible
devices. This terminal does not
support VMC-AVM1 Adaptor
Cable (sold separately). You
cannot use accessories via an
A/V remote connector.
(microphone) jack (PLUG
IN POWER)
Loop for a shoulder belt
Grip belt
 (headphones) jack
Multi interface shoe
For details on compatible
accessories of the Multi
interface shoe, visit the Sony
web site in your area, or
consult your Sony dealer or
local authorized Sony service
facility.
Operations with other
manufacture’s accessories are
not guaranteed.
If you use a shoe adaptor (sold
separately), you can also use
accessories compatible with an
Active Interface Shoe.
To prevent failure, do not use a
commercially available flash
with high-voltage synchro
terminals or with reverse
polarity.
N mark (38)
NFC: Near Field
Communication
Camera recording lamp
Remote sensor
NIGHTSHOT light (FDR-AX53/
AX55/AXP55)
PROJECTOR FOCUS lever (33)
(FDR-AXP55)
LCD monitor/Touch panel
Projector lens (FDR-AXP55)

Other manuals for Sony FDR-AX40

Related product manuals