EasyManua.ls Logo

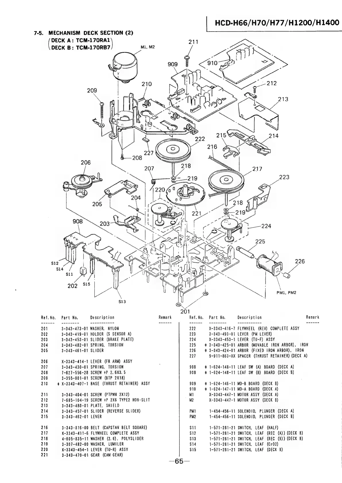
Sony HCD-H70 - 7-5. Mechanism Deck Section (2) Exploded View

Sony HCD-H70
71 pages
Print Icon
To Next Page IconTo Next Page
To Next Page IconTo Next Page
To Previous Page IconTo Previous Page
To Previous Page IconTo Previous Page
Loading...
|
HCD-H66/H70/H77/H1200/H1400
7-5.
MECHANISM
DECK
SECTION
(2)
eee
A:
Ab
atte
DECK
B:
TCM-170RB7
@—
219
i
Ref.
No.
Part
No.
Description
201
3-343-473-01
WASHER,
NYLON
222
X-3343-416-7
FLYWHEEL
(REV)
COMPLETE
ASSY
202
3-343-419-01
HOLDER
(S
SENSOR
A)
223
3-343-493-01
LEVER
(PM
LEVER)
203
3-343-453-01
SLIDER
(BRAKE
PLATE)
224
X-3343-453-1
LEVER
(TU-F)
ASSY
204
3-343-482-01
SPRING,
TORSION
225
*
3-343-425-01
ARBOR
(MOVABLE
IRON
ARBOR),
IRON
205
3-343-461-01
SLIDER
226
*
3-343-424-01
ARBOR
(FIXED
IRON
ARBOR),
TRON
227
9-911-863-XX
SPACER
(THRUST
RETAINER)
(DECK
A)
206
X-3343-414-1
LEVER
(FR
ARM)
ASSY
/
207
3-343-430-01
SPRING,
TORSION
908
*
1-624-148-11
LEAF
SW
(A)
BOARD
(DECK
A)
208
7-627-556-28
SCREW
+P
2.
6X3.
5
$08
*
1-624-148-11
LEAF
SW
(B)
BOARD
(DECK
8)
209
3-355-801-01
SCREW
(BTP
2X18)
210
&
X-3343-407-1
BASE
(THRUST
RETAINER)
ASSY
$09
*
1-624-146-11
MD-B
BOARD
(DECK
B)
$10
*
1-624-147-11
MD-A
BOARD
(DECK
A)
2Ni
3-343-404-01
SCREW
(PTPWH
2X12)
M1
X-3343-447-1
MOTOR
ASSY
(DECK
A)
212
7-685-104-19
SCREW
+P
2X6
TYPE2
NON-SLIT
M2
X-3343-447-1
MOTOR
ASSY
(DECK
8B)
213
3-343-480-01
PLATE,
SHIELD
214
3-343-457-01
SLIDER
(REVERSE
SLIDER)
PMI
1-454-456-11
SOLENOID,
PLUNGER
(DECK
A)
215
3-343-462-01
LEVER
PM2
1-454-456-11
SOLENOID,
PLUNGER
(DECK
B)
216
3-343-816-00
BELT
(CAPSTAN
BELT
SQUARE)
$11
1-571-281-21
SWITCH,
LEAF
(HALF)
217
X-3343-411-6
FLYWHEEL
COMPLETE
ASSY
$12
1-571-281-21
SWITCH,
LEAF
(REC
(A))
(DECK
8B)
218
4-605-835-11
WASHER
(2.6).
POLYSLIDER
$13
1-571-281-21
SWITCH,
LEAF
(REC
(B))
(DECK
B)
219
3-307-482-00
WASHER,
LUMILER
$i4
1-571-281-21
SWITCH,
LEAF
(Cr02)
220
X-3343-454-1
LEVER
(TU-R)
ASSY
$15
1-571-281-21
SWITCH,
LEAF
(DECK
8)
221
3-343-470-01
GEAR
(CAM
GEAR)

Related product manuals