EasyManua.ls Logo

Sony NV-U82B - Hinweis zum LCD-Display; Hinweise zur Entsorgung des Geräts; Wartung; Reinigung

Sony NV-U82B
122 pages
Print Icon
To Next Page IconTo Next Page
To Next Page IconTo Next Page
To Previous Page IconTo Previous Page
To Previous Page IconTo Previous Page
Loading...
13
Hinweis zum LCD-Display
Auf dem Monitor können unbewegliche blaue,
rote oder grüne Punkte erscheinen. Solche so
genannten „Lichtpunkte“ können bei allen LCD-
Displays auftreten. Das LCD-Display wird in
einer Hochpräzisionstechnologie hergestellt, so
dass über 99,99 % der Segmente korrekt
funktionieren. Ein kleiner Prozentsatz der
Segmente (in der Regel 0,01 %) leuchtet unter
Umständen jedoch nicht ordnungsgemäß. Diese
Ausfälle beeinträchtigen die Bildqualität
allerdings nicht.
Wartung
Reinigung
Wenn die Oberfläche des Saugnapfs
verschmutzt ist, so dass er nicht mehr sicher
hält, reinigen Sie ihn mit einem weichen,
feuchten, fusselfreien Tuch.
Achten Sie darauf, dass der Saugnapf
vollständig trocken ist, bevor Sie ihn wieder
anbringen.
Reinigen Sie das Display mit einem
handelsüblichen Reinigungstuch.
Hinweis
Der Saugnapf kann an der Windschutzscheibe
Spuren hinterlassen, die Sie mit Wasser abwaschen
können.
Austauschen der Sicherung
Wenn Sie die Sicherung im Autobatterieadapter
austauschen, achten Sie darauf, eine
Ersatzsicherung mit dem gleichen Ampere-Wert
wie die Originalsicherung zu verwenden. Dieser
ist auf der Originalsicherung angegeben (2,5 A).
Wenn die Sicherung durchbrennt, überprüfen Sie
den Stromanschluss und tauschen die Sicherung
aus. Brennt die neue Sicherung ebenfalls durch,
kann eine interne Fehlfunktion vorliegen.
Wenden Sie sich in einem solchen Fall an Ihren
Sony-Händler.
Achtung
Verwenden Sie unter keinen Umständen eine
Sicherung mit einem höheren Ampere-Wert als
dem der Sicherung, die ursprünglich mit dem
Gerät geliefert wurde. Andernfalls kann es zu
Schäden am Gerät kommen.
Hinweise zur Entsorgung des
Geräts
Bauen Sie den eingebauten Lithium-Ionen-Akku
aus, wenn Sie das Gerät entsorgen wollen, und
geben Sie den Akku an einer entsprechenden
Sammelstelle ab.
Wie Sie den Akku ausbauen können, ist unten
erläutert.
Hinweis
Zerlegen Sie das Gerät nur, wenn Sie es entsorgen
wollen.
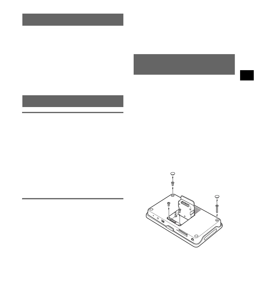
1 Schalten Sie das Gerät mit der Taste
RESET aus.
2 Entfernen Sie die 2 Gummistöpsel an
der Rückseite des Geräts und
entfernen Sie dann mit einem
Schraubenzieher die 4 Schrauben.
Fortsetzung auf der nächsten Seite t

Table of Contents

Related product manuals