EasyManua.ls Logo

Sony PS-X75 - Page 7

Sony PS-X75
37 pages
Print Icon
To Next Page IconTo Next Page
To Next Page IconTo Next Page
To Previous Page IconTo Previous Page
To Previous Page IconTo Previous Page
Loading...
1-4,
CIRCUIT
DESCRIPTION
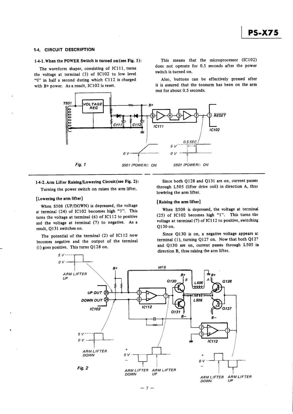
1-4-1.
When
the
POWER
Switch
is
turned
on
(see
Fig.
1):
The
waveform
shaper,
consisting
of
IC111,
turns
the
voltage
at
terminal
(3)
of
IC102
to
low
level
“0”
in
half
a
second
during
which
C112
is
charged
with
B+
power.
Asa
result,
IC102
is
reset.
OV
Fig.
1
S501
(POWER}:
ON
1-4-2.
Arm
Lifter
Raising/Lowering
Circuit(see
Fig.
2):
Turning
the
power
switch
on
raises
the
arm
lifter.
[Lowering
the
arm
lifter]
When
S508
(UP/DOWN)
is
depressed,
the
voltage
at
terminal
(24)
of
IC102
becomes
high
“1”.
This
turns
the
voltage
at
terminal
(6)
of
IC112
to
positive
and
the
voltage
at
terminal
(7)
to
negative.
Asa
result,
Q131
switches
on.
The
potential
of
the
terminal
(2)
of
IC112
now
becomes
negative
and
the
output
of
the
terminal
(1)
goes
positive.
This
turns
Q128
on.
|
aa
OV
ARM
LIFTER
DOWN
Fig.
2
-—-7-—
|
PS-X75
This
means
that
the
microprocessor
(IC102)
does
not
operate
for 0.5
seconds
after
the
power
switch
is
turned
on.
Also,
buttons
can
be
effectively
pressed
after
it
is
assured
that
the
tonearm
has
been
on
the
arm
rest
for
about
0.5
seconds.
S501
(POWER):
ON
rn
IT
Since
both
Q128
and
Q131
are
on,
current
passes
through
L505
(lifter
drive
coil)
in
direction
A,
thus
lowéring
the
arm
lifter.
[Raising
the
arm
lifter]
When
S508
is
depressed,
the
voltage
at
terminal
(25)
of
1C102
becomes
high
“1”.
This
turns
the
voltage
at
terminal
(7)
of
IC112
to
positive,
switching
Q130
on.
Since
Q130
is
on,
a
negative
voltage
appears
at
terminal
(1),
turning
Q127
on.
Now
that
both
Q127
and
Q130
are
on,
current
passes
through
L505
in
direction
B,
thus
raising
the
arm
lifter.
ARM
LIFTER
ARMLIFTER
DOWN
ARM
LIFTER
ARMLIFTER
DOWN
uP

Related product manuals